当前位置: 首页 > 知识产权交易 > 专利转让 >

待交易一种粘合材料剪切性能试验装置

专利号:CN201921893924.3 已授权

申请日:2023-02-02发布日期:2023-02-02

立即收藏 立即询价 转让价格:询价

专利摘要

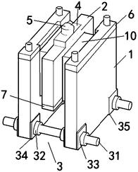
本实用新型公开了一种粘合材料剪切性能试验装置,包括外板、中板、连接件、承载平台、承载头、外板压条和中板压条,所述外板有两块,平行设置且外板的下部通过连接件连接固定,两块所述外板相对的内侧设有位置相对且上部开口的第一凹槽,所述中板的两侧面上分别设有下部开口的第二凹槽,所述第一凹槽和第二凹槽之间形成一个夹持试样的空间,所述中板压条可拆卸地固定在中板底部,中板和中板压条则一起夹持在两块外板之间,所述外板压条可拆卸地固定在外板的上部,所述承载平台固定在中板上,所述承载头固定在承载平台上。本实用新型可以消除装置摩擦阻力,使试验结果更为精确,使试件仅仅受到剪力,消除试件在厚度方向受到的力。

交易流程

  • 平台资深顾问将根据买家的需求,提供一对一服务,协助买家挑选到合适的专利。

  • 待买家确认无误后,根据顾问指导进行下单,并签订协议与合同,买家需要支付50%交易款给平台。

  • 平台将负责办理官方变更手续,向国知局提交转让材料。

  • 约10个工作日左右,待买家确认收到专利《变更手续合格通知书》后,向平台支付剩余交易款。

  • 转让成功后,平台会将专利证书原件、专利登记簿副本原件邮寄给买家,同时把交易尾款支付给卖家,保障双方交易顺利。

过户资料

主体资格 转让方提供 受让方提供 平台提供 转让完成,可获得
自然人 身份证复印件,专利证书原件; 身份证复印件
有效个体营业执照
转让申请书
代理委托书
转让协议书
发明人变更声明
专利证书
手续合格通知书
专利登记簿副本
公司 有效的企业营业执照副本复印件,专利证书原件 有效的企业营业执照副本复印件;企业组织机构代码证
平台专属代理事务所将对委托交易全程监督,确保所有交易合同及相关文件合法有效。

发布求购信息