当前位置: 首页 > 知识产权交易 > 专利转让 >

待交易一种可重复利用的鲜奶瓶

专利号:CN201921069225.7 已授权

申请日:2023-02-02发布日期:2023-02-02

立即收藏 立即询价 转让价格:询价

专利摘要

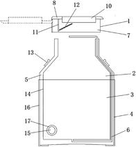
本实用新型公开了一种可重复利用的鲜奶瓶,包括瓶盖和瓶体,所述瓶盖位于瓶体的顶部;所述瓶体设为内层和外层,所述内层和外层之间设有真空层;所述内层底部设有吸管,所述吸管一端与内层底部连通,另一端通过真空层延伸出瓶体顶部;所述瓶盖包括盖体和顶盖,所述盖体与瓶体顶部套接,盖体顶部设有通孔,盖体顶部边缘与顶盖一端转动连接,顶盖底部设有密封柱,所述密封柱的形状对应通孔的形状设置;所述盖体顶部内壁还竖直设有连接板,所述连接板上倾斜设有弹簧。本实用新型可以重复利用,内层外部设有感温块,可迅速得知瓶内液体的温度是否合适,方便、准确、快速。本实用新型结构简单,使用方便,具有很好的应用前景。

交易流程

  • 平台资深顾问将根据买家的需求,提供一对一服务,协助买家挑选到合适的专利。

  • 待买家确认无误后,根据顾问指导进行下单,并签订协议与合同,买家需要支付50%交易款给平台。

  • 平台将负责办理官方变更手续,向国知局提交转让材料。

  • 约10个工作日左右,待买家确认收到专利《变更手续合格通知书》后,向平台支付剩余交易款。

  • 转让成功后,平台会将专利证书原件、专利登记簿副本原件邮寄给买家,同时把交易尾款支付给卖家,保障双方交易顺利。

过户资料

主体资格 转让方提供 受让方提供 平台提供 转让完成,可获得
自然人 身份证复印件,专利证书原件; 身份证复印件
有效个体营业执照
转让申请书
代理委托书
转让协议书
发明人变更声明
专利证书
手续合格通知书
专利登记簿副本
公司 有效的企业营业执照副本复印件,专利证书原件 有效的企业营业执照副本复印件;企业组织机构代码证
平台专属代理事务所将对委托交易全程监督,确保所有交易合同及相关文件合法有效。

发布求购信息