当前位置: 首页 > 知识产权交易 > 专利转让 >

待交易 一种轮式固相气流驱动换轨灭弧装置

专利号:CN201921737438.2 已授权

申请日:2023-02-02发布日期:2023-02-02

立即收藏 立即询价 转让价格:询价

专利摘要

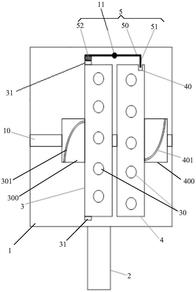
本实用新型公开了一种轮式固相气流驱动换轨灭弧装置,所述灭弧装置包括灭弧防雷壳体、灭弧筒、A转盘和B转盘和驱动切换装置,在灭弧防雷壳体内水平设置有可转动的中心轴,A转盘和B转盘可滑动设置在中心轴上,在A转盘和B转盘的圆周侧壁上均匀设置有放置槽,该灭弧筒从气丸触发位穿入且与A转盘或B转盘上的放置槽接触,在灭弧防雷壳体的内部顶端上设置有支撑点,在A转盘和B转盘的内部中心位置分别设置有涡卷弹簧,A转盘和B转盘分别通过涡卷弹簧套设在中心轴上,使驱动切换装置驱动A转盘和B转盘沿中心轴转动过程中,且A转盘和B转盘沿中心轴上同步滑动。本实用新型避免了转盘切换过程中发生错位移动,提高了双盘切换的可靠性。

交易流程

  • 平台资深顾问将根据买家的需求,提供一对一服务,协助买家挑选到合适的专利。

  • 待买家确认无误后,根据顾问指导进行下单,并签订协议与合同,买家需要支付50%交易款给平台。

  • 平台将负责办理官方变更手续,向国知局提交转让材料。

  • 约10个工作日左右,待买家确认收到专利《变更手续合格通知书》后,向平台支付剩余交易款。

  • 转让成功后,平台会将专利证书原件、专利登记簿副本原件邮寄给买家,同时把交易尾款支付给卖家,保障双方交易顺利。

过户资料

主体资格 转让方提供 受让方提供 平台提供 转让完成,可获得
自然人 身份证复印件,专利证书原件; 身份证复印件
有效个体营业执照
转让申请书
代理委托书
转让协议书
发明人变更声明
专利证书
手续合格通知书
专利登记簿副本
公司 有效的企业营业执照副本复印件,专利证书原件 有效的企业营业执照副本复印件;企业组织机构代码证
平台专属代理事务所将对委托交易全程监督,确保所有交易合同及相关文件合法有效。

发布求购信息