当前位置: 首页 > 知识产权交易 > 专利转让 >

待交易一种双盘发条式灭弧防雷装置

专利号:CN201921737731.9 已授权

申请日:2023-02-02发布日期:2023-02-02

立即收藏 立即询价 转让价格:询价

专利摘要

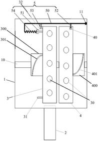
本实用新型公开了一种双盘发条式灭弧防雷装置,所述灭弧防雷装置包括灭弧防雷壳体、灭弧筒、A转盘和B转盘和驱动切换装置,在所述灭弧防雷壳体内水平设置有可转动的中心轴,所述A转盘和B转盘可滑动设置在中心轴上,在A转盘和B转盘的圆周侧壁上均匀设置有多个沿径向方向的用于放置气丸的放置槽,该灭弧筒与A转盘或B转盘上的放置槽接触,在靠近B转盘一侧的灭弧防雷壳体内侧壁顶端上设置有支撑点,在A转盘和B转盘的内部中心位置分别设置有涡卷弹簧,所述驱动切换装置的分别与所述A转盘和B转盘传动连接。本实用新型避免了转盘切换过程中使灭弧筒发生错位移动,提高了双盘切换的可靠性。

交易流程

  • 平台资深顾问将根据买家的需求,提供一对一服务,协助买家挑选到合适的专利。

  • 待买家确认无误后,根据顾问指导进行下单,并签订协议与合同,买家需要支付50%交易款给平台。

  • 平台将负责办理官方变更手续,向国知局提交转让材料。

  • 约10个工作日左右,待买家确认收到专利《变更手续合格通知书》后,向平台支付剩余交易款。

  • 转让成功后,平台会将专利证书原件、专利登记簿副本原件邮寄给买家,同时把交易尾款支付给卖家,保障双方交易顺利。

过户资料

主体资格 转让方提供 受让方提供 平台提供 转让完成,可获得
自然人 身份证复印件,专利证书原件; 身份证复印件
有效个体营业执照
转让申请书
代理委托书
转让协议书
发明人变更声明
专利证书
手续合格通知书
专利登记簿副本
公司 有效的企业营业执照副本复印件,专利证书原件 有效的企业营业执照副本复印件;企业组织机构代码证
平台专属代理事务所将对委托交易全程监督,确保所有交易合同及相关文件合法有效。

发布求购信息