当前位置: 首页 > 知识产权交易 > 专利转让 >

待交易一种防止建筑工程临时电缆拖地的简易支架

专利号:CN202022632472.2 已授权

申请日:2023-02-01发布日期:2023-02-01

立即收藏 立即询价 转让价格:询价

专利摘要

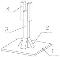
本实用新型公开了一种防止建筑工程临时电缆拖地的简易支架,属于线缆支撑架领域,包括模板底座、三角固定座、木枋立杆和顶部夹杆,木枋立杆底部固定在模板底座上,三角固定座设置在木枋立杆底部的周边并与木枋立杆和模板底座固定设置,顶部夹杆设置在木枋立杆顶部的两边,中间形成存线槽。本实用新型结构简单,加工制作方便,其取材完全来自施工现场废物木料,环保节约,设置的凹型顶槽或者活动弧形轮都可以很好的减少对线缆的摩擦,同时在初始安装线缆时,可以起到的很好的导线的作用,缓冲支撑装置可以两边都线缆起到支撑的作用,可以增加线缆的支撑面,可以更好的把线缆支撑在空中,同时可以增加支撑架之间的距离。

交易流程

  • 平台资深顾问将根据买家的需求,提供一对一服务,协助买家挑选到合适的专利。

  • 待买家确认无误后,根据顾问指导进行下单,并签订协议与合同,买家需要支付50%交易款给平台。

  • 平台将负责办理官方变更手续,向国知局提交转让材料。

  • 约10个工作日左右,待买家确认收到专利《变更手续合格通知书》后,向平台支付剩余交易款。

  • 转让成功后,平台会将专利证书原件、专利登记簿副本原件邮寄给买家,同时把交易尾款支付给卖家,保障双方交易顺利。

过户资料

主体资格 转让方提供 受让方提供 平台提供 转让完成,可获得
自然人 身份证复印件,专利证书原件; 身份证复印件
有效个体营业执照
转让申请书
代理委托书
转让协议书
发明人变更声明
专利证书
手续合格通知书
专利登记簿副本
公司 有效的企业营业执照副本复印件,专利证书原件 有效的企业营业执照副本复印件;企业组织机构代码证
平台专属代理事务所将对委托交易全程监督,确保所有交易合同及相关文件合法有效。

发布求购信息