当前位置: 首页 > 知识产权交易 > 专利转让 >

待交易一种桥梁伸缩缝处桥墩与桥梁的连接机构

专利号:CN202022413535.5 已授权

申请日:2023-02-01发布日期:2023-02-01

立即收藏 立即询价 转让价格:询价

专利摘要

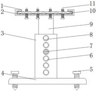
本实用新型公开了一种桥梁伸缩缝处桥墩与桥梁的连接机构,包括定位套杆,所述定位套杆的内侧活动安装有调节杆,所述调节杆和定位套杆之间设置有卡接组件,所述调节杆的顶端固定安装有支撑架,所述支撑架的内侧两端活动安装有连接板,所述连接板之间横向排布设置有缓冲限位组件。该一种桥梁伸缩缝处桥墩与桥梁的连接机构,在进行日常使用的过程中,可根据实际需要连接的桥梁型号规格不同需要,通过人工扭动螺纹柱在螺纹槽内侧进行实时驱动,实现将螺纹柱与螺纹槽进行实时分离和安装,方便进行实时更换不同型号规格的限位扭簧,使连接机构的弹力部件能与连接的桥梁进行适配,提高了机构使用的灵活性,降低了机构使用限制性。

交易流程

  • 平台资深顾问将根据买家的需求,提供一对一服务,协助买家挑选到合适的专利。

  • 待买家确认无误后,根据顾问指导进行下单,并签订协议与合同,买家需要支付50%交易款给平台。

  • 平台将负责办理官方变更手续,向国知局提交转让材料。

  • 约10个工作日左右,待买家确认收到专利《变更手续合格通知书》后,向平台支付剩余交易款。

  • 转让成功后,平台会将专利证书原件、专利登记簿副本原件邮寄给买家,同时把交易尾款支付给卖家,保障双方交易顺利。

过户资料

主体资格 转让方提供 受让方提供 平台提供 转让完成,可获得
自然人 身份证复印件,专利证书原件; 身份证复印件
有效个体营业执照
转让申请书
代理委托书
转让协议书
发明人变更声明
专利证书
手续合格通知书
专利登记簿副本
公司 有效的企业营业执照副本复印件,专利证书原件 有效的企业营业执照副本复印件;企业组织机构代码证
平台专属代理事务所将对委托交易全程监督,确保所有交易合同及相关文件合法有效。

发布求购信息