当前位置: 首页 > 知识产权交易 > 专利转让 >

待交易一种边坡锚杆框架梁模板固定装置

专利号:CN202022413556.7 已授权

申请日:2023-02-01发布日期:2023-02-01

立即收藏 立即询价 转让价格:询价

专利摘要

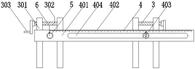
本实用新型公开了一种边坡锚杆框架梁模板固定装置,包括长螺纹杆,所长螺纹杆的表面套接安装有调节组件,所述调节组件的表面套接安装有连接杆,所述连接杆的表面设置有限位槽,所述限位槽的内部套接安装有限位环,所述限位环之间分别设置有紧固组件和测量组件。该该装置通过调节套接在长螺纹杆表面的内螺纹套,可以实现对连接杆的移动调节,同时通过调节曲柄可以控制紧固夹对模板的固定,一定程度上优化了现有模板固定的方式,该装置通过其中一个连接杆表面套接安装的测量尺及测量尺表面的刻度线配合另一连接杆一端固定安装的指针可以直观的观察到两块模板之间的距离,使其模板固定更加的精准。

交易流程

  • 平台资深顾问将根据买家的需求,提供一对一服务,协助买家挑选到合适的专利。

  • 待买家确认无误后,根据顾问指导进行下单,并签订协议与合同,买家需要支付50%交易款给平台。

  • 平台将负责办理官方变更手续,向国知局提交转让材料。

  • 约10个工作日左右,待买家确认收到专利《变更手续合格通知书》后,向平台支付剩余交易款。

  • 转让成功后,平台会将专利证书原件、专利登记簿副本原件邮寄给买家,同时把交易尾款支付给卖家,保障双方交易顺利。

过户资料

主体资格 转让方提供 受让方提供 平台提供 转让完成,可获得
自然人 身份证复印件,专利证书原件; 身份证复印件
有效个体营业执照
转让申请书
代理委托书
转让协议书
发明人变更声明
专利证书
手续合格通知书
专利登记簿副本
公司 有效的企业营业执照副本复印件,专利证书原件 有效的企业营业执照副本复印件;企业组织机构代码证
平台专属代理事务所将对委托交易全程监督,确保所有交易合同及相关文件合法有效。

发布求购信息