当前位置: 首页 > 知识产权交易 > 专利转让 >

待交易一种用于在摇臂钻床上镗孔的工装装置

专利号:CN202022204440.2 已授权

申请日:2023-02-01发布日期:2023-02-01

立即收藏 立即询价 转让价格:询价

专利摘要

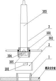
本实用新型公开了一种用于在摇臂钻床上镗孔的工装装置,包括固定导向套、快速锁紧装置、镗杆、活动钻套,所述快速锁紧装置可拆卸套设在固定导向套外部,所述活动钻套与快速锁紧装置适配,该活动钻套包含横向设置的第一锁紧杆,所述镗杆的底部与活动钻套的内侧适配,该镗杆包含镗杆轴和安装孔,镗杆下部还配套有镗杆套和第二锁紧杆,所述镗杆套套和镗杆轴底部外侧适配,所述第二锁紧杆横向设置在镗杆套外侧,所述安装孔设置在镗杆轴底部中间位置。本实用新型的工装提高了摇臂钻加工孔的光洁度、精度,提高了效率。

交易流程

  • 平台资深顾问将根据买家的需求,提供一对一服务,协助买家挑选到合适的专利。

  • 待买家确认无误后,根据顾问指导进行下单,并签订协议与合同,买家需要支付50%交易款给平台。

  • 平台将负责办理官方变更手续,向国知局提交转让材料。

  • 约10个工作日左右,待买家确认收到专利《变更手续合格通知书》后,向平台支付剩余交易款。

  • 转让成功后,平台会将专利证书原件、专利登记簿副本原件邮寄给买家,同时把交易尾款支付给卖家,保障双方交易顺利。

过户资料

主体资格 转让方提供 受让方提供 平台提供 转让完成,可获得
自然人 身份证复印件,专利证书原件; 身份证复印件
有效个体营业执照
转让申请书
代理委托书
转让协议书
发明人变更声明
专利证书
手续合格通知书
专利登记簿副本
公司 有效的企业营业执照副本复印件,专利证书原件 有效的企业营业执照副本复印件;企业组织机构代码证
平台专属代理事务所将对委托交易全程监督,确保所有交易合同及相关文件合法有效。

发布求购信息