当前位置: 首页 > 知识产权交易 > 专利转让 >

待交易一种便于定量涂抹护理用涂药装置

专利号:CN202022121071.0 已授权

申请日:2023-02-01发布日期:2023-02-01

立即收藏 立即询价 转让价格:询价

专利摘要

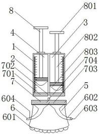
本实用新型公开了一种便于定量涂抹护理用涂药装置,包括针管,所述针管的内部分别设置有膏体仓和液体仓,所述膏体仓和液体仓的表面皆设置有刻度线,所述膏体仓和液体仓的内部皆设置有推动组件,所述针管的底部设置有安装组件,所述安装组件的底部活动安装有壳体,所述壳体的内部设置有功能头组件。该一种便于定量涂抹护理用涂药装置通过观察膏体仓和液体仓表面的刻度线,可以详细的观察到当次所涂抹的量,有效的防止了因用量过度导致对皮肤和身体的伤害,该装置通过按摩头可对膏体导流头挤出的膏体进行揉搓按摩,使膏体可以更加均匀的涂抹在皮肤上,使皮肤更加容易吸收,同时避免了用手直接接触膏体。

交易流程

  • 平台资深顾问将根据买家的需求,提供一对一服务,协助买家挑选到合适的专利。

  • 待买家确认无误后,根据顾问指导进行下单,并签订协议与合同,买家需要支付50%交易款给平台。

  • 平台将负责办理官方变更手续,向国知局提交转让材料。

  • 约10个工作日左右,待买家确认收到专利《变更手续合格通知书》后,向平台支付剩余交易款。

  • 转让成功后,平台会将专利证书原件、专利登记簿副本原件邮寄给买家,同时把交易尾款支付给卖家,保障双方交易顺利。

过户资料

主体资格 转让方提供 受让方提供 平台提供 转让完成,可获得
自然人 身份证复印件,专利证书原件; 身份证复印件
有效个体营业执照
转让申请书
代理委托书
转让协议书
发明人变更声明
专利证书
手续合格通知书
专利登记簿副本
公司 有效的企业营业执照副本复印件,专利证书原件 有效的企业营业执照副本复印件;企业组织机构代码证
平台专属代理事务所将对委托交易全程监督,确保所有交易合同及相关文件合法有效。

发布求购信息