当前位置: 首页 > 知识产权交易 > 专利转让 >

待交易一种蚕丝预处理浸泡装置

专利号:CN202022084137.3 已授权

申请日:2023-02-01发布日期:2023-02-01

立即收藏 立即询价 转让价格:询价

专利摘要

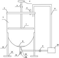
本实用新型公开了一种蚕丝预处理浸泡装置,包括罐体、压顶盖、压顶螺杆、循环管、排水管、进水口和出水口,所述罐体为上部开口的圆形罐,该罐体上部设有罐体盖,罐体的底部设有支撑脚,所述压顶盖可自由活动地置于罐体内部,所述压顶螺杆由罐体上方穿过罐体盖与压顶盖接触,所述进水口设置在罐体盖上,所述出水口设置在罐体底部,该出水口出设有过滤网,且出水口的外部通过三通管连接,该三通管的另外两个通口上均设有阀门且分别连接排水管和循环管,所述循环管上设有水泵。本实用新型能够将蚕茧压破使蚕丝容易出来,降低装置中的固液体积比,易于浸泡,而且液体循环冲刷使蚕丝易于从棉絮中洗出。

交易流程

  • 平台资深顾问将根据买家的需求,提供一对一服务,协助买家挑选到合适的专利。

  • 待买家确认无误后,根据顾问指导进行下单,并签订协议与合同,买家需要支付50%交易款给平台。

  • 平台将负责办理官方变更手续,向国知局提交转让材料。

  • 约10个工作日左右,待买家确认收到专利《变更手续合格通知书》后,向平台支付剩余交易款。

  • 转让成功后,平台会将专利证书原件、专利登记簿副本原件邮寄给买家,同时把交易尾款支付给卖家,保障双方交易顺利。

过户资料

主体资格 转让方提供 受让方提供 平台提供 转让完成,可获得
自然人 身份证复印件,专利证书原件; 身份证复印件
有效个体营业执照
转让申请书
代理委托书
转让协议书
发明人变更声明
专利证书
手续合格通知书
专利登记簿副本
公司 有效的企业营业执照副本复印件,专利证书原件 有效的企业营业执照副本复印件;企业组织机构代码证
平台专属代理事务所将对委托交易全程监督,确保所有交易合同及相关文件合法有效。

发布求购信息