当前位置: 首页 > 知识产权交易 > 专利转让 >

待交易一种可移动式粉仓破拱布气头装置

专利号:CN202021393181.6 已授权

申请日:2023-02-01发布日期:2023-02-01

立即收藏 立即询价 转让价格:询价

专利摘要

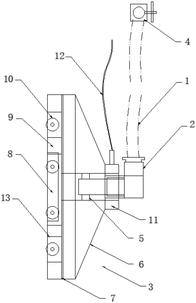
本实用新型公开了一种可移动式粉仓破拱布气头装置,包括气管、气管接头和布气头,所述气管上端设有阀门,所述气管接头连通气管下端,该气管接头与布气头连接,并在布气头内设置进气轴与气管接头连通,所述布气头包括布气头端盖、布气头喷气槽、磁铁、布气头底座和滑轮,所述布气头端连接在布气头底座的一侧并环罩在进气轴的外侧,所述磁铁固定在布气头底座的另一侧,所述布气头喷气槽设置在底座与布气头端盖之间,所述磁铁设置在布气头底座的中部,所述滑轮分布在磁铁四周。本实用新型的破拱装置安装维护简易,破拱效果明显,并可根据现场情况随时调整破拱位置及破拱数量,避免破坏粉仓结构,适用范围广,使用在对粉仓表面要求高的场合。

交易流程

  • 平台资深顾问将根据买家的需求,提供一对一服务,协助买家挑选到合适的专利。

  • 待买家确认无误后,根据顾问指导进行下单,并签订协议与合同,买家需要支付50%交易款给平台。

  • 平台将负责办理官方变更手续,向国知局提交转让材料。

  • 约10个工作日左右,待买家确认收到专利《变更手续合格通知书》后,向平台支付剩余交易款。

  • 转让成功后,平台会将专利证书原件、专利登记簿副本原件邮寄给买家,同时把交易尾款支付给卖家,保障双方交易顺利。

过户资料

主体资格 转让方提供 受让方提供 平台提供 转让完成,可获得
自然人 身份证复印件,专利证书原件; 身份证复印件
有效个体营业执照
转让申请书
代理委托书
转让协议书
发明人变更声明
专利证书
手续合格通知书
专利登记簿副本
公司 有效的企业营业执照副本复印件,专利证书原件 有效的企业营业执照副本复印件;企业组织机构代码证
平台专属代理事务所将对委托交易全程监督,确保所有交易合同及相关文件合法有效。

发布求购信息