当前位置: 首页 > 知识产权交易 > 专利转让 >

待交易一种预制模块化市政污水处理系统

专利号:CN202021250138.4 已授权

申请日:2023-02-01发布日期:2023-02-01

立即收藏 立即询价 转让价格:询价

专利摘要

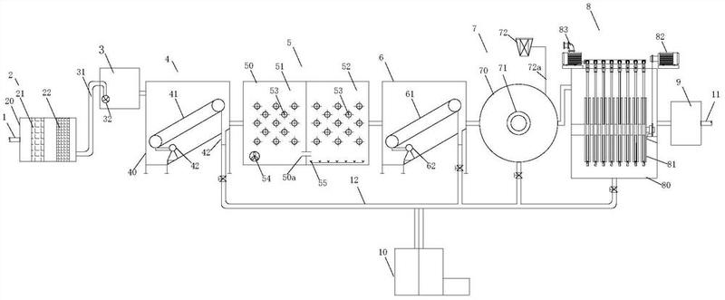
本实用新型公开了一种预制模块化市政污水处理系统,所述污水处理系统包括依次连通的预处理模块、一体化污水提升模块、第一快速冲洗沉砂模块、MBBR反应模块、第二快速冲洗沉砂模块、混凝沉淀模块、滤布滤池模块、紫外消毒模块以及污泥一体化处理模块,所述预处理模块的入水口端连接有进水管,所述第一快速冲洗沉砂模块的出泥口、MBBR反应模块的出泥口、第二快速冲洗沉砂模块的出泥口、混凝沉淀模块的出泥口、滤布滤池模块的出泥口分别通过污泥管与所述污泥一体化处理模块的入泥端口连通,本实用新型能逐级降低污泥的产率,可快速去除污水中的悬浮物,有效减少了悬浮物浓度,而且安装简单,配套土建施工简单,工程施工周期短,运行费用低。

交易流程

  • 平台资深顾问将根据买家的需求,提供一对一服务,协助买家挑选到合适的专利。

  • 待买家确认无误后,根据顾问指导进行下单,并签订协议与合同,买家需要支付50%交易款给平台。

  • 平台将负责办理官方变更手续,向国知局提交转让材料。

  • 约10个工作日左右,待买家确认收到专利《变更手续合格通知书》后,向平台支付剩余交易款。

  • 转让成功后,平台会将专利证书原件、专利登记簿副本原件邮寄给买家,同时把交易尾款支付给卖家,保障双方交易顺利。

过户资料

主体资格 转让方提供 受让方提供 平台提供 转让完成,可获得
自然人 身份证复印件,专利证书原件; 身份证复印件
有效个体营业执照
转让申请书
代理委托书
转让协议书
发明人变更声明
专利证书
手续合格通知书
专利登记簿副本
公司 有效的企业营业执照副本复印件,专利证书原件 有效的企业营业执照副本复印件;企业组织机构代码证
平台专属代理事务所将对委托交易全程监督,确保所有交易合同及相关文件合法有效。

发布求购信息