当前位置: 首页 > 知识产权交易 > 专利转让 >

待交易一种焊接处理设备

专利号:CN202021420431.0 已授权

申请日:2023-02-01发布日期:2023-02-01

立即收藏 立即询价 转让价格:询价

专利摘要

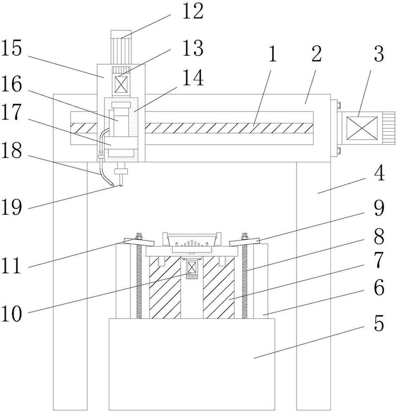
本实用新型公开了一种焊接处理设备,涉及机械加工技术领域。本实用新型包括横梁、基座、驱动电机、空压机和固定板,横梁的内部转动连接有丝杆,丝杆的表面螺纹连接有调节块,调节块的前侧固定有调节板,调节板上端固定有液压缸,调节板前侧滑动连接有升降板,升降板的上端固定有驱动电机,驱动电机的输出轴贯穿升降板固定有焊接头,升降板的前侧固定有基板,基板的上端固定有空压机,空压机的输出端连接有气管,基座上固定有基块,基块的上端固定有固定板。本实用新型通过设置压块、基块、固定板、液压缸、驱动电机、焊接头、空压机,解决了焊接工作时无法对各类不同工件进行固定和焊接工作时缺少快速冷却功能的问题。

交易流程

  • 平台资深顾问将根据买家的需求,提供一对一服务,协助买家挑选到合适的专利。

  • 待买家确认无误后,根据顾问指导进行下单,并签订协议与合同,买家需要支付50%交易款给平台。

  • 平台将负责办理官方变更手续,向国知局提交转让材料。

  • 约10个工作日左右,待买家确认收到专利《变更手续合格通知书》后,向平台支付剩余交易款。

  • 转让成功后,平台会将专利证书原件、专利登记簿副本原件邮寄给买家,同时把交易尾款支付给卖家,保障双方交易顺利。

过户资料

主体资格 转让方提供 受让方提供 平台提供 转让完成,可获得
自然人 身份证复印件,专利证书原件; 身份证复印件
有效个体营业执照
转让申请书
代理委托书
转让协议书
发明人变更声明
专利证书
手续合格通知书
专利登记簿副本
公司 有效的企业营业执照副本复印件,专利证书原件 有效的企业营业执照副本复印件;企业组织机构代码证
平台专属代理事务所将对委托交易全程监督,确保所有交易合同及相关文件合法有效。

发布求购信息