当前位置: 首页 > 知识产权交易 > 专利转让 >

待交易一种陶瓷煅烧炉窑温度监控系统

专利号:CN202021695124.3 已授权

申请日:2023-01-31发布日期:2023-01-31

立即收藏 立即询价 转让价格:询价

专利摘要

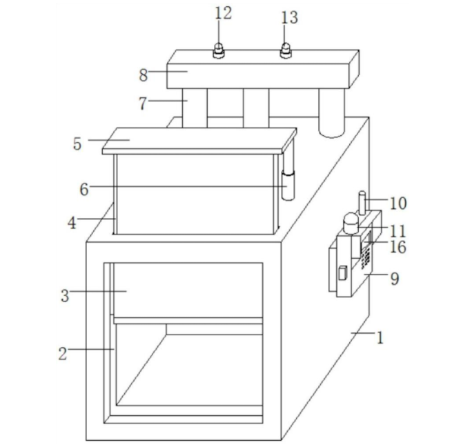
本实用新型涉及炉窑温度监控加工技术领域,具体为一种陶瓷煅烧炉窑温度监控系统,包括炉窖,炉窖的前端设有开口,开口的内部滑动连接有契合板,契合板密封开口,契合板的上端贯穿炉窖的顶部连接有顶板,顶板的一侧连接有液压缸,液压缸的顶部与炉窖的顶部连接,炉窖的顶部位于液压缸的一侧导通有多个导管,多个导管之间通过连通管连通,连通管的上端分别连接有温度传感器和气压传感器,炉窖的一侧设有控制器,该一种陶瓷煅烧炉窑温度监控系统,方便人员对炉窖的温度环境进行实施监测,避免炉窖生产环境不达标,造成产品不合格问题,方便人员对多个炉窖进行同步管理与查看,同时解决传感器容易老化问题。

交易流程

  • 平台资深顾问将根据买家的需求,提供一对一服务,协助买家挑选到合适的专利。

  • 待买家确认无误后,根据顾问指导进行下单,并签订协议与合同,买家需要支付50%交易款给平台。

  • 平台将负责办理官方变更手续,向国知局提交转让材料。

  • 约10个工作日左右,待买家确认收到专利《变更手续合格通知书》后,向平台支付剩余交易款。

  • 转让成功后,平台会将专利证书原件、专利登记簿副本原件邮寄给买家,同时把交易尾款支付给卖家,保障双方交易顺利。

过户资料

主体资格 转让方提供 受让方提供 平台提供 转让完成,可获得
自然人 身份证复印件,专利证书原件; 身份证复印件
有效个体营业执照
转让申请书
代理委托书
转让协议书
发明人变更声明
专利证书
手续合格通知书
专利登记簿副本
公司 有效的企业营业执照副本复印件,专利证书原件 有效的企业营业执照副本复印件;企业组织机构代码证
平台专属代理事务所将对委托交易全程监督,确保所有交易合同及相关文件合法有效。

发布求购信息