当前位置: 首页 > 知识产权交易 > 专利转让 >

待交易一种网-框式水产育苗用苗种收集装置

专利号:CN202020899247.2 已授权

申请日:2023-01-31发布日期:2023-01-31

立即收藏 立即询价 转让价格:询价

专利摘要

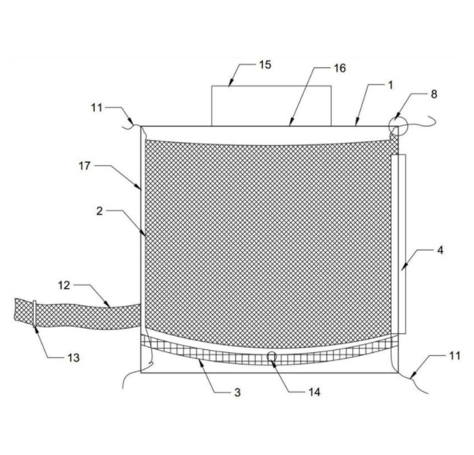
本实用新型公开了一种网?框式水产育苗用苗种收集装置,包括由竖杆和横杆组成的方形框架和网袋;框架底部设有柔性的硅胶托网;某一竖杆上套设有竖向转筒,竖向转筒上设有竖向遮光布,竖向遮光布上设有竖向魔术粘和竖向魔术贴;某一横杆上套设有横向转筒,横向转筒上设有横向遮光布,横向遮光布上设有横向魔术贴;网袋顶点设有绑带;网袋侧面下部设有一袖筒状的集苗口。硅胶托网中央设有微孔曝气头。本实用新型结构设计新颖,制造成本低、操作简便,轻便小巧,便于携带,实用性强,便于回捕、收集幼苗以及育苗池的换水,节省人工资源及成本,同时减少回捕人力成本,具有良好的水产养殖一线应用推广前景。

交易流程

  • 平台资深顾问将根据买家的需求,提供一对一服务,协助买家挑选到合适的专利。

  • 待买家确认无误后,根据顾问指导进行下单,并签订协议与合同,买家需要支付50%交易款给平台。

  • 平台将负责办理官方变更手续,向国知局提交转让材料。

  • 约10个工作日左右,待买家确认收到专利《变更手续合格通知书》后,向平台支付剩余交易款。

  • 转让成功后,平台会将专利证书原件、专利登记簿副本原件邮寄给买家,同时把交易尾款支付给卖家,保障双方交易顺利。

过户资料

主体资格 转让方提供 受让方提供 平台提供 转让完成,可获得
自然人 身份证复印件,专利证书原件; 身份证复印件
有效个体营业执照
转让申请书
代理委托书
转让协议书
发明人变更声明
专利证书
手续合格通知书
专利登记簿副本
公司 有效的企业营业执照副本复印件,专利证书原件 有效的企业营业执照副本复印件;企业组织机构代码证
平台专属代理事务所将对委托交易全程监督,确保所有交易合同及相关文件合法有效。

发布求购信息