当前位置: 首页 > 知识产权交易 > 专利转让 >

待交易一种高粘度液体管道混合器

专利号:CN202021484829.0 已授权

申请日:2023-01-29发布日期:2023-01-29

立即收藏 立即询价 转让价格:询价

专利摘要

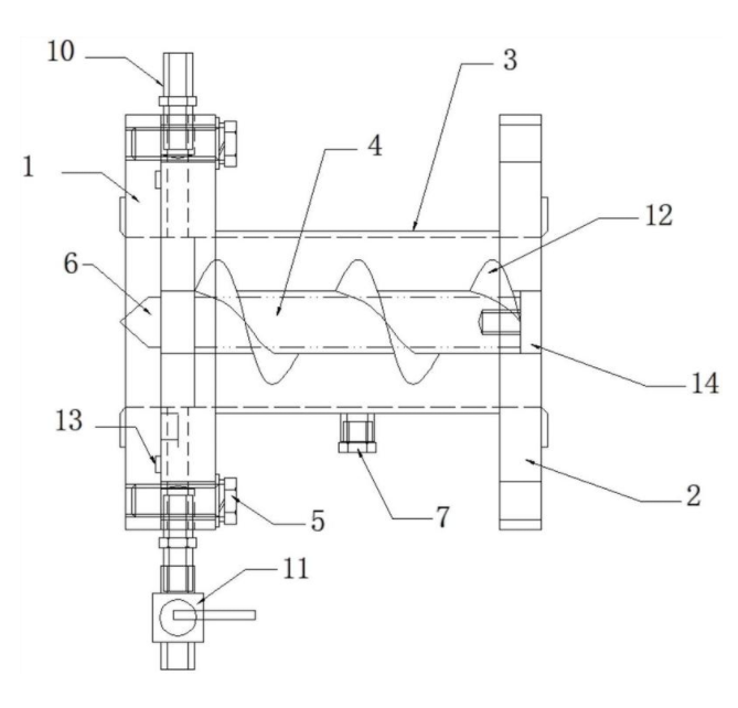
本实用新型公开了一种高粘度液体管道混合器,包括前密封端盖、后密封端盖、混合筒和混合螺旋套,该前密封端盖和后密封端盖平行设置并分别固定在混合筒的前后端,该前密封端盖和后密封端盖上均设有安装螺栓且中心处设有盖板,所述后密封端盖上设有固定螺栓,所述混合螺旋套可拆卸固定在固定螺栓上,该混合螺旋套位于混合筒的中部并延伸至混合筒前端端头处,该混合螺旋套的前端固定设有导流头,所述混合筒为中空圆筒,该混合筒的中部设有取样口。本实用新通过螺旋套将流入的物料进行分配至各个通孔流入后,通过导流头锥形的变化改变管道内物料流速,进入混合器内的流速提升,保证物料挤压混合的效果。

交易流程

  • 平台资深顾问将根据买家的需求,提供一对一服务,协助买家挑选到合适的专利。

  • 待买家确认无误后,根据顾问指导进行下单,并签订协议与合同,买家需要支付50%交易款给平台。

  • 平台将负责办理官方变更手续,向国知局提交转让材料。

  • 约10个工作日左右,待买家确认收到专利《变更手续合格通知书》后,向平台支付剩余交易款。

  • 转让成功后,平台会将专利证书原件、专利登记簿副本原件邮寄给买家,同时把交易尾款支付给卖家,保障双方交易顺利。

过户资料

主体资格 转让方提供 受让方提供 平台提供 转让完成,可获得
自然人 身份证复印件,专利证书原件; 身份证复印件
有效个体营业执照
转让申请书
代理委托书
转让协议书
发明人变更声明
专利证书
手续合格通知书
专利登记簿副本
公司 有效的企业营业执照副本复印件,专利证书原件 有效的企业营业执照副本复印件;企业组织机构代码证
平台专属代理事务所将对委托交易全程监督,确保所有交易合同及相关文件合法有效。

发布求购信息