当前位置: 首页 > 知识产权交易 > 专利转让 >

待交易一种低粘度液体管道高效混合器

专利号:CN202021483575.0 已授权

申请日:2023-01-29发布日期:2023-01-29

立即收藏 立即询价 转让价格:询价

专利摘要

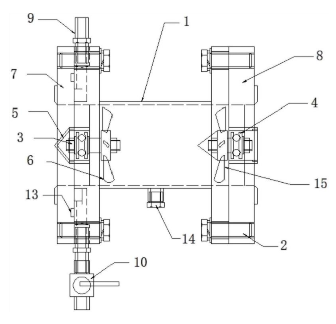
本实用新型公开了一种低粘度液体管道高效混合器,包括前密封端盖、后密封端盖和混合筒,该前密封端盖和后密封端盖平行设置并分别固定在混合筒的前后端,该前密封端盖和后密封端盖上均设有安装螺栓且中心处设有盖板,所述混合筒的前端端头处设置前混合叶轮,后密封端盖的盖板上设有后混合叶轮,所述叶轮主轴的端部连接位于混合筒内前混合叶轮或后混合叶轮,该叶轮主轴的中部可转动地套设在轴承中,所述前端密封盖罩在叶轮主轴和轴承的外部,前混合叶轮和后混合叶轮的旋转方向相反,所述混合筒为中空圆筒,该混合筒的中部设有取样口。本实用新通过两端旋转方向相反的混合叶轮转动将两侧的液体产生变向涡流,达到液体区域性振荡达到物料混合效果。

交易流程

  • 平台资深顾问将根据买家的需求,提供一对一服务,协助买家挑选到合适的专利。

  • 待买家确认无误后,根据顾问指导进行下单,并签订协议与合同,买家需要支付50%交易款给平台。

  • 平台将负责办理官方变更手续,向国知局提交转让材料。

  • 约10个工作日左右,待买家确认收到专利《变更手续合格通知书》后,向平台支付剩余交易款。

  • 转让成功后,平台会将专利证书原件、专利登记簿副本原件邮寄给买家,同时把交易尾款支付给卖家,保障双方交易顺利。

过户资料

主体资格 转让方提供 受让方提供 平台提供 转让完成,可获得
自然人 身份证复印件,专利证书原件; 身份证复印件
有效个体营业执照
转让申请书
代理委托书
转让协议书
发明人变更声明
专利证书
手续合格通知书
专利登记簿副本
公司 有效的企业营业执照副本复印件,专利证书原件 有效的企业营业执照副本复印件;企业组织机构代码证
平台专属代理事务所将对委托交易全程监督,确保所有交易合同及相关文件合法有效。

发布求购信息