当前位置: 首页 > 知识产权交易 > 专利转让 >

待交易一种新型喷水除油烟装置

专利号:CN202021364662.4 已授权

申请日:2023-01-29发布日期:2023-01-29

立即收藏 立即询价 转让价格:询价

专利摘要

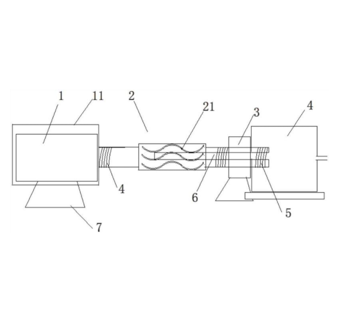
本实用新型公开了一种新型喷水除油烟装置,包括电机、喷水轴、轴承和预进箱,所述喷水轴的一端与电机连接,通过电机带动喷水轴转动,喷水轴与电机连接处设置有水封,该喷水轴的另一端固定在轴承上并与预进箱连接,该连接处设置有水封,所述预进箱内设有循环水导入轴,该循环水导入轴连通预进箱和喷水轴,所述喷水轴上设有若干条波浪型的凹槽,每条凹槽内设有和凹槽一致弯曲的喷射缝,所述喷射缝均匀分布在喷水轴的表面。本实用新型提供一种能够使喷出的水雾连续性地分布,形成水面充分与经过的油烟接触进行清洗除油烟装置,而且能够减堵塞,结构简单、易于实现。

交易流程

  • 平台资深顾问将根据买家的需求,提供一对一服务,协助买家挑选到合适的专利。

  • 待买家确认无误后,根据顾问指导进行下单,并签订协议与合同,买家需要支付50%交易款给平台。

  • 平台将负责办理官方变更手续,向国知局提交转让材料。

  • 约10个工作日左右,待买家确认收到专利《变更手续合格通知书》后,向平台支付剩余交易款。

  • 转让成功后,平台会将专利证书原件、专利登记簿副本原件邮寄给买家,同时把交易尾款支付给卖家,保障双方交易顺利。

过户资料

主体资格 转让方提供 受让方提供 平台提供 转让完成,可获得
自然人 身份证复印件,专利证书原件; 身份证复印件
有效个体营业执照
转让申请书
代理委托书
转让协议书
发明人变更声明
专利证书
手续合格通知书
专利登记簿副本
公司 有效的企业营业执照副本复印件,专利证书原件 有效的企业营业执照副本复印件;企业组织机构代码证
平台专属代理事务所将对委托交易全程监督,确保所有交易合同及相关文件合法有效。

发布求购信息