当前位置: 首页 > 知识产权交易 > 专利转让 >

待交易调控微生物对数期生长的污水处理系统及污水处理方法

专利号:CN202010616335.1 已授权

申请日:2023-01-28发布日期:2023-01-28

立即收藏 立即询价 转让价格:询价

专利摘要

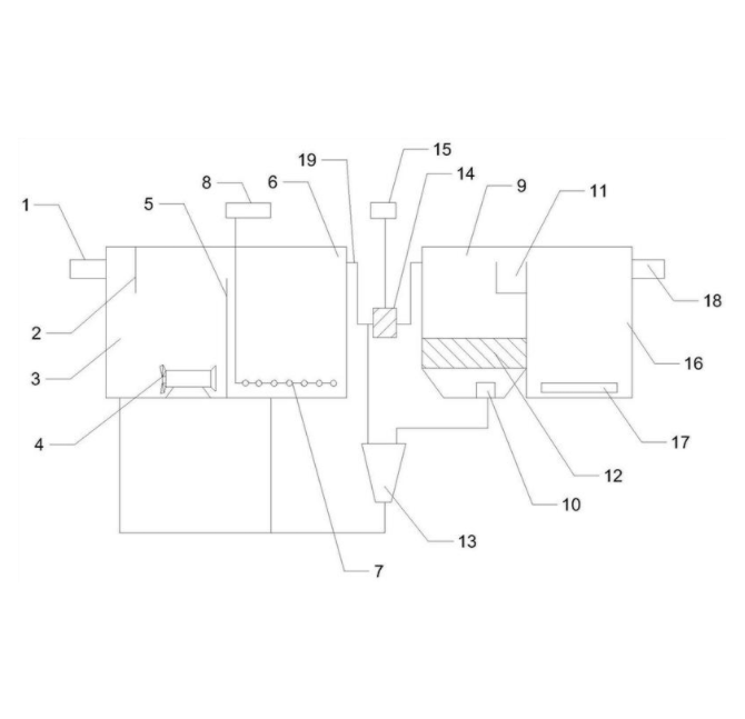
本发明公开一种调控微生物对数期生长的污水处理系统,包括进水管,进水挡板,A级生化池,潜水搅拌机,溢流板,O级生化池,微孔曝气头,曝气装置,二沉池,污泥回流泵,溢流槽,斜管,旋流离心分离设备,管道混合器,加药装置,消毒池,紫外灯管,出水管。本发明还提供了一种利用上述系统处理污水的方法。本发明在污泥回流中设置了旋流离心分离设备,可将附着有高活性微生物的微米级高流动载体通过离心力分离,并回流至生化池,老化的、附着力差的微生物絮凝体在水力剪切下与载体分离、脱落分散,返回至二沉池,以此维持生化池内微生物始终处于对数生长期,保持极强的微生物活性和新陈代谢作用,污泥浓度可达到8000?10000mg/L。

交易流程

  • 平台资深顾问将根据买家的需求,提供一对一服务,协助买家挑选到合适的专利。

  • 待买家确认无误后,根据顾问指导进行下单,并签订协议与合同,买家需要支付50%交易款给平台。

  • 平台将负责办理官方变更手续,向国知局提交转让材料。

  • 约10个工作日左右,待买家确认收到专利《变更手续合格通知书》后,向平台支付剩余交易款。

  • 转让成功后,平台会将专利证书原件、专利登记簿副本原件邮寄给买家,同时把交易尾款支付给卖家,保障双方交易顺利。

过户资料

主体资格 转让方提供 受让方提供 平台提供 转让完成,可获得
自然人 身份证复印件,专利证书原件; 身份证复印件
有效个体营业执照
转让申请书
代理委托书
转让协议书
发明人变更声明
专利证书
手续合格通知书
专利登记簿副本
公司 有效的企业营业执照副本复印件,专利证书原件 有效的企业营业执照副本复印件;企业组织机构代码证
平台专属代理事务所将对委托交易全程监督,确保所有交易合同及相关文件合法有效。

发布求购信息