当前位置: 首页 > 知识产权交易 > 专利转让 >

待交易一种自动撒芝麻装置

专利号:CN202021348148.1 已授权

申请日:2023-01-28发布日期:2023-01-28

立即收藏 立即询价 转让价格:询价

专利摘要

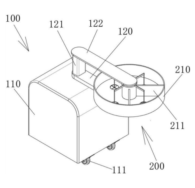
本实用新型公开了一种自动撒芝麻装置,涉及食品生产技术领域。本实用新型包括支撑机构和转动机构,支撑机构包括机壳,机壳的顶端固定连接有中空支撑板,中空支撑板与机壳相邻一端的顶端固定连接有连接轴。本实用新型通过将装载芝麻的盒体设置为圆柱状,内部利用两个隔板分割成两个区域,并且与转轴之间为转动连接,只需要装载芝麻的转盘转动即可,不需要通过抖动装载芝麻的盒体来实现芝麻的撒落,避免了整体装置电线在使用过程中的脱落,通过在销轴底端的外柱面上套接固定有封闭环,封闭环内部设置有多个挡板,实现了调节通槽的大小,便于调节芝麻一次性撒落的多少。

交易流程

  • 平台资深顾问将根据买家的需求,提供一对一服务,协助买家挑选到合适的专利。

  • 待买家确认无误后,根据顾问指导进行下单,并签订协议与合同,买家需要支付50%交易款给平台。

  • 平台将负责办理官方变更手续,向国知局提交转让材料。

  • 约10个工作日左右,待买家确认收到专利《变更手续合格通知书》后,向平台支付剩余交易款。

  • 转让成功后,平台会将专利证书原件、专利登记簿副本原件邮寄给买家,同时把交易尾款支付给卖家,保障双方交易顺利。

过户资料

主体资格 转让方提供 受让方提供 平台提供 转让完成,可获得
自然人 身份证复印件,专利证书原件; 身份证复印件
有效个体营业执照
转让申请书
代理委托书
转让协议书
发明人变更声明
专利证书
手续合格通知书
专利登记簿副本
公司 有效的企业营业执照副本复印件,专利证书原件 有效的企业营业执照副本复印件;企业组织机构代码证
平台专属代理事务所将对委托交易全程监督,确保所有交易合同及相关文件合法有效。

发布求购信息