当前位置: 首页 > 知识产权交易 > 专利转让 >

待交易一种自动计数贴单装置

专利号:CN202021348171.0 已授权

申请日:2023-01-28发布日期:2023-01-28

立即收藏 立即询价 转让价格:询价

专利摘要

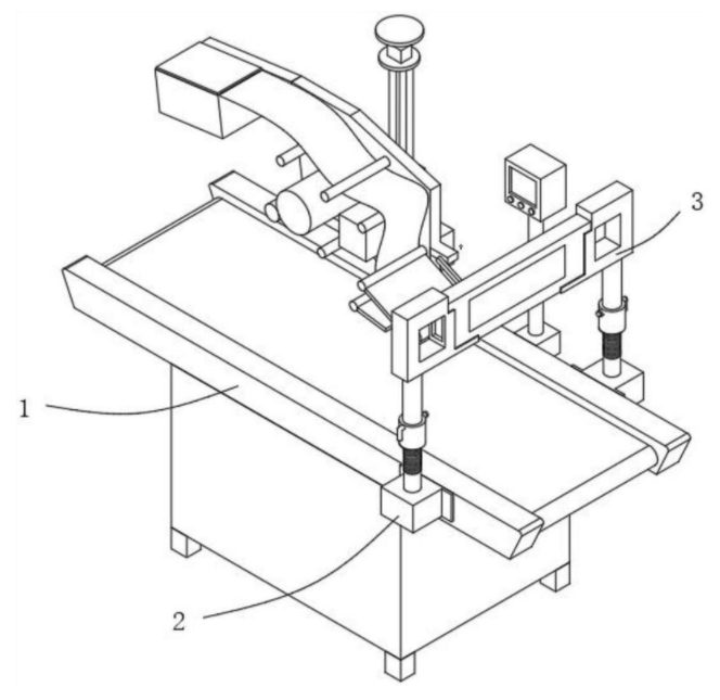
本实用新型涉及贴单设备技术领域,具体地说,涉及一种自动计数贴单装置。其包括贴单机和固定在贴单机前端两侧的计数台,计数台一侧设有连接片,连接片与贴单机的侧面焊合连接,计数台上方固定连接有固定装置,两个固定装置之间连接有计数器,固定装置一侧设有固定槽,计数器底端位于固定槽内部,计数台上表面固定有连接杆,连接杆上方设有滑动杆,滑动杆的顶面与固定装置的底面焊合连接,该实用新型中通过在贴单机的出口处上方设置计数器,可对贴过标签的包装盒进行计数,便于后期对单量的核对,节省了人力消耗,增加了工作效率,通过连接杆、滑动杆和转动块之间的滑动和转动,可将计数器的高度进行调节,便于对不同高度的包装盒计数。

交易流程

  • 平台资深顾问将根据买家的需求,提供一对一服务,协助买家挑选到合适的专利。

  • 待买家确认无误后,根据顾问指导进行下单,并签订协议与合同,买家需要支付50%交易款给平台。

  • 平台将负责办理官方变更手续,向国知局提交转让材料。

  • 约10个工作日左右,待买家确认收到专利《变更手续合格通知书》后,向平台支付剩余交易款。

  • 转让成功后,平台会将专利证书原件、专利登记簿副本原件邮寄给买家,同时把交易尾款支付给卖家,保障双方交易顺利。

过户资料

主体资格 转让方提供 受让方提供 平台提供 转让完成,可获得
自然人 身份证复印件,专利证书原件; 身份证复印件
有效个体营业执照
转让申请书
代理委托书
转让协议书
发明人变更声明
专利证书
手续合格通知书
专利登记簿副本
公司 有效的企业营业执照副本复印件,专利证书原件 有效的企业营业执照副本复印件;企业组织机构代码证
平台专属代理事务所将对委托交易全程监督,确保所有交易合同及相关文件合法有效。

发布求购信息