当前位置: 首页 > 知识产权交易 > 专利转让 >

待交易一种高效自动开酥机

专利号:CN202021272820.3 已授权

申请日:2023-01-28发布日期:2023-01-28

立即收藏 立即询价 转让价格:询价

专利摘要

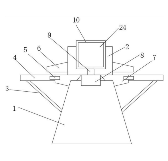
本实用新型公开了一种高效自动开酥机,包括支撑座,支撑座顶端设有固定架,机体设在固定架的顶端,每前后两个对应电动伸缩杆的顶端之间设有压辊,固定架的两端均设有传送件,PLC控制面板上设有触控屏,触控屏的左上角显示有产品名称,产品名称的底部由上而下依次设有启动触钮、停止触钮、复位触钮、计数器以及计数清零触钮,产品名称的右侧从左至右依次设有自动模式触钮、主画面触钮以及手动界面触钮,启动触钮、停止触钮、复位触钮、计数器以及计数清零触钮的右侧分别设有第一道开酥参数界面以及第二道参数界面,该开酥机可对同个面团往复压面开酥,无需人工将面团重新放到压面起始位置,而且可以调节面团厚度。

交易流程

  • 平台资深顾问将根据买家的需求,提供一对一服务,协助买家挑选到合适的专利。

  • 待买家确认无误后,根据顾问指导进行下单,并签订协议与合同,买家需要支付50%交易款给平台。

  • 平台将负责办理官方变更手续,向国知局提交转让材料。

  • 约10个工作日左右,待买家确认收到专利《变更手续合格通知书》后,向平台支付剩余交易款。

  • 转让成功后,平台会将专利证书原件、专利登记簿副本原件邮寄给买家,同时把交易尾款支付给卖家,保障双方交易顺利。

过户资料

主体资格 转让方提供 受让方提供 平台提供 转让完成,可获得
自然人 身份证复印件,专利证书原件; 身份证复印件
有效个体营业执照
转让申请书
代理委托书
转让协议书
发明人变更声明
专利证书
手续合格通知书
专利登记簿副本
公司 有效的企业营业执照副本复印件,专利证书原件 有效的企业营业执照副本复印件;企业组织机构代码证
平台专属代理事务所将对委托交易全程监督,确保所有交易合同及相关文件合法有效。

发布求购信息