当前位置: 首页 > 知识产权交易 > 专利转让 >

待交易一种具有空气净化功能的车载充电器

专利号:CN202021228377.X 已授权

申请日:2023-01-28发布日期:2023-01-28

立即收藏 立即询价 转让价格:询价

专利摘要

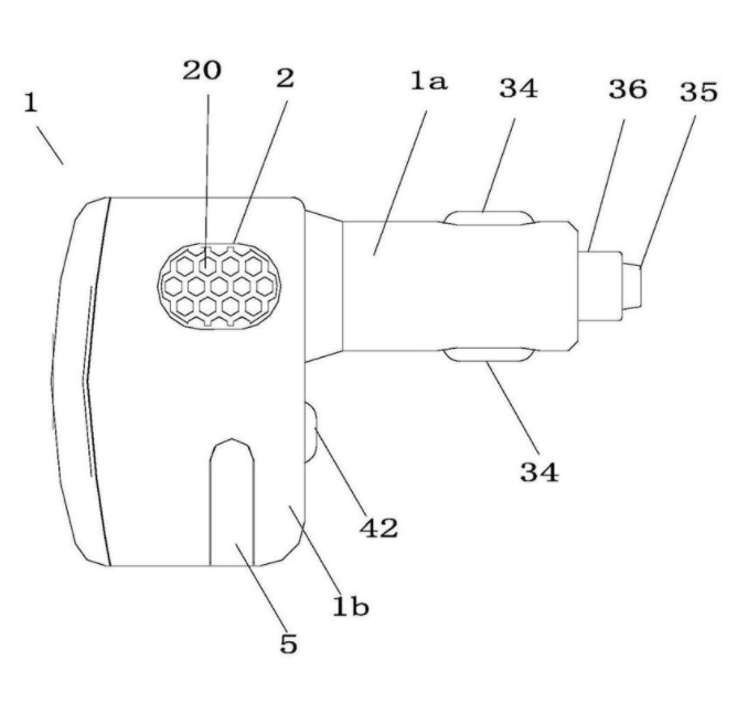
本实用新型公开了一种具有空气净化功能的车载充电器,所述车载充电器包括壳体和安装在壳体内的车载充电机构,所述车载充电机构贯穿设置在壳体内,且分别从壳体两端伸出,所述壳体呈手枪形结构的抓握壳体部和管壳部,所述车载充电机构贯穿设置在所述抓握壳体部和管壳部内,在所述壳体内设置有净化机构,且所述净化机构设置在抓握壳体部内,所述净化机构与所述车载充电机构电气连接,在抓握壳体部的上端两侧外壁上设置有与净化机构连通的气窗。本实用新型实现了车载充电器具有充电功能,从而有效解决了车载空气净化器不具备充电功能的问题,而且充电和净化操作简单容易,实用性强。

交易流程

  • 平台资深顾问将根据买家的需求,提供一对一服务,协助买家挑选到合适的专利。

  • 待买家确认无误后,根据顾问指导进行下单,并签订协议与合同,买家需要支付50%交易款给平台。

  • 平台将负责办理官方变更手续,向国知局提交转让材料。

  • 约10个工作日左右,待买家确认收到专利《变更手续合格通知书》后,向平台支付剩余交易款。

  • 转让成功后,平台会将专利证书原件、专利登记簿副本原件邮寄给买家,同时把交易尾款支付给卖家,保障双方交易顺利。

过户资料

主体资格 转让方提供 受让方提供 平台提供 转让完成,可获得
自然人 身份证复印件,专利证书原件; 身份证复印件
有效个体营业执照
转让申请书
代理委托书
转让协议书
发明人变更声明
专利证书
手续合格通知书
专利登记簿副本
公司 有效的企业营业执照副本复印件,专利证书原件 有效的企业营业执照副本复印件;企业组织机构代码证
平台专属代理事务所将对委托交易全程监督,确保所有交易合同及相关文件合法有效。

发布求购信息