当前位置: 首页 > 知识产权交易 > 专利转让 >

待交易一种蕉科植物高温萃取装置

专利号:CN202020926810.0 已授权

申请日:2023-01-28发布日期:2023-01-28

立即收藏 立即询价 转让价格:询价

专利摘要

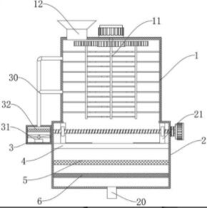
本实用新型涉及一种高温萃取装置,具体涉及一种蕉科植物高温萃取装置,包括搅碎箱,搅碎箱内部转动设置有搅碎装置,搅碎装置包括第一电机,第一电机输出轴转动穿过搅碎箱顶部,且通过联轴器连接第一齿轮,第一齿轮底部固定设置有第一搅碎辊,第一齿轮外壁啮合连接有第二齿轮,第二齿轮底部固定设置有第二搅碎辊,第二搅碎辊与第一搅碎辊外壁的刀片交错设置,搅碎箱底部连通设置有过滤箱,过滤箱内腔靠近顶部的两侧壁均开设有滑槽,滑槽内部转动设置有丝杆,两个丝杆外壁之间螺纹连接有对称的两个挤压装置,挤压装置包括挤压板,本实用新型使蕉科植物搅碎效果更佳,且可以把蕉科植物碎片内部的原液完全挤压出来,避免资源浪费。

交易流程

  • 平台资深顾问将根据买家的需求,提供一对一服务,协助买家挑选到合适的专利。

  • 待买家确认无误后,根据顾问指导进行下单,并签订协议与合同,买家需要支付50%交易款给平台。

  • 平台将负责办理官方变更手续,向国知局提交转让材料。

  • 约10个工作日左右,待买家确认收到专利《变更手续合格通知书》后,向平台支付剩余交易款。

  • 转让成功后,平台会将专利证书原件、专利登记簿副本原件邮寄给买家,同时把交易尾款支付给卖家,保障双方交易顺利。

过户资料

主体资格 转让方提供 受让方提供 平台提供 转让完成,可获得
自然人 身份证复印件,专利证书原件; 身份证复印件
有效个体营业执照
转让申请书
代理委托书
转让协议书
发明人变更声明
专利证书
手续合格通知书
专利登记簿副本
公司 有效的企业营业执照副本复印件,专利证书原件 有效的企业营业执照副本复印件;企业组织机构代码证
平台专属代理事务所将对委托交易全程监督,确保所有交易合同及相关文件合法有效。

发布求购信息