当前位置: 首页 > 知识产权交易 > 专利转让 >

待交易一种蕉科植物低温破壁装置

专利号:CN202020817712.3 已授权

申请日:2023-01-17发布日期:2023-01-17

立即收藏 立即询价 转让价格:询价

专利摘要

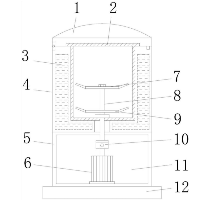
本实用新型公开了一种蕉科植物低温破壁装置,涉及蕉科植物制备技术领域。本实用新型包括破壁筒、冷却液、冷却座、放置座和连接座,放置座的内部开设有内腔,放置座内侧底部的中间位置固定连接有电机,放置座的顶部固定连接有冷却座,冷却座的内部填充有冷却液,冷却座的内侧可拆卸连接有破壁筒,破壁筒的内部转动连接有转轴,转轴的上套接固定有第一粉碎叶和第二粉碎叶,转轴的底端通过连接座与电机的输出端固定连接。本实用新型通过设置破壁筒、冷却座、冷却液和连接座,解决了蕉科植物破壁装置无法对破壁过程中的蕉科植物有效降温和破壁装置不便拆卸清理的问题。

交易流程

  • 平台资深顾问将根据买家的需求,提供一对一服务,协助买家挑选到合适的专利。

  • 待买家确认无误后,根据顾问指导进行下单,并签订协议与合同,买家需要支付50%交易款给平台。

  • 平台将负责办理官方变更手续,向国知局提交转让材料。

  • 约10个工作日左右,待买家确认收到专利《变更手续合格通知书》后,向平台支付剩余交易款。

  • 转让成功后,平台会将专利证书原件、专利登记簿副本原件邮寄给买家,同时把交易尾款支付给卖家,保障双方交易顺利。

过户资料

主体资格 转让方提供 受让方提供 平台提供 转让完成,可获得
自然人 身份证复印件,专利证书原件; 身份证复印件
有效个体营业执照
转让申请书
代理委托书
转让协议书
发明人变更声明
专利证书
手续合格通知书
专利登记簿副本
公司 有效的企业营业执照副本复印件,专利证书原件 有效的企业营业执照副本复印件;企业组织机构代码证
平台专属代理事务所将对委托交易全程监督,确保所有交易合同及相关文件合法有效。

发布求购信息