当前位置: 首页 > 知识产权交易 > 专利转让 >

待交易一种便于更换的仿真花压合模具

专利号:CN202020862040.8 已授权

申请日:2023-01-17发布日期:2023-01-17

立即收藏 立即询价 转让价格:询价

专利摘要

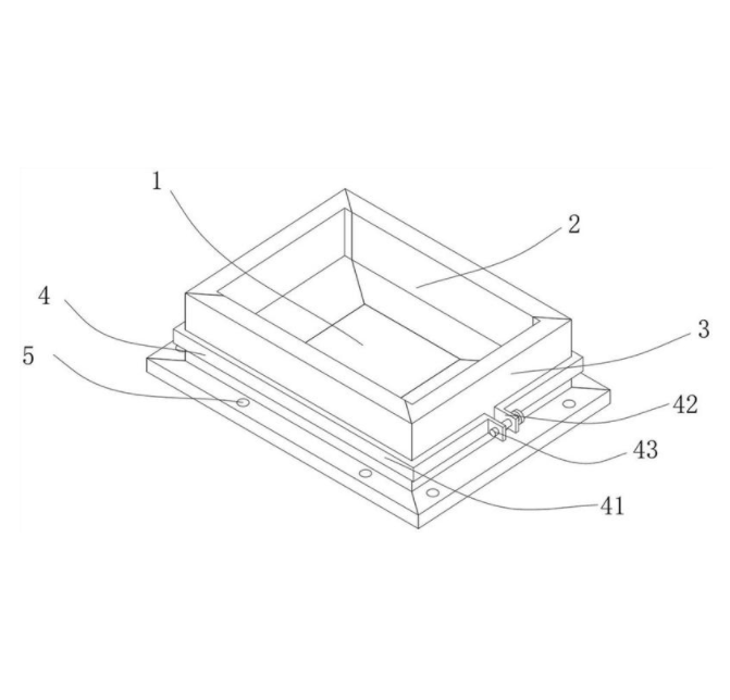
本实用新型涉及压模模具技术领域,具体为一种便于更换的仿真花压合模具,包括中心压模块和设置在中心压模块左右两侧的插柱模块,中心压模块的前后两侧设有插接模块,中心压模块包括中心块和固定连接在中心块侧面的插块,插柱模块包括插柱板和固定在插柱板底部的插柱底板,插柱板和插柱底板上均开设有若干插柱槽,插接模块包括插接板和固定在插接板底部的插接底板,插接板和插接底板的左右两侧固定连接有若干插柱。本实用新型设计了可以组装的插柱模块和插接模块,便于组装和更换,加快组装或更换的速度,当模具产生磨损后,只需要更换受磨损的部件,不需要更换整个模具,节省更换的成本。

交易流程

  • 平台资深顾问将根据买家的需求,提供一对一服务,协助买家挑选到合适的专利。

  • 待买家确认无误后,根据顾问指导进行下单,并签订协议与合同,买家需要支付50%交易款给平台。

  • 平台将负责办理官方变更手续,向国知局提交转让材料。

  • 约10个工作日左右,待买家确认收到专利《变更手续合格通知书》后,向平台支付剩余交易款。

  • 转让成功后,平台会将专利证书原件、专利登记簿副本原件邮寄给买家,同时把交易尾款支付给卖家,保障双方交易顺利。

过户资料

主体资格 转让方提供 受让方提供 平台提供 转让完成,可获得
自然人 身份证复印件,专利证书原件; 身份证复印件
有效个体营业执照
转让申请书
代理委托书
转让协议书
发明人变更声明
专利证书
手续合格通知书
专利登记簿副本
公司 有效的企业营业执照副本复印件,专利证书原件 有效的企业营业执照副本复印件;企业组织机构代码证
平台专属代理事务所将对委托交易全程监督,确保所有交易合同及相关文件合法有效。

发布求购信息