当前位置: 首页 > 知识产权交易 > 专利转让 >

待交易一种自动注射装置

专利号:CN202021778099.5 已授权

申请日:2023-01-16发布日期:2023-01-16

立即收藏 立即询价 转让价格:询价

专利摘要

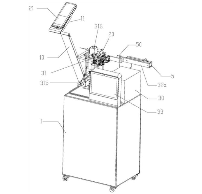
本实用新型公开了一种自动注射装置,包括操作箱台、安装在操作箱台左右两侧注射定位部分和注射驱动部分,注射定位部分包括用于推动注射器的进行注射的注射支撑定位模块和设置在注射支撑定位模块外侧上方的视频拍摄器,在操作箱台固定所述注射驱动模,在注射驱动模块的顶端后侧设置有水平定位支撑板,在远离所述电气控制盒一侧的水平定位支撑板的外侧壁上通过注射支撑定位模块夹持固定所述注射器,在注射驱动气缸的输出轴端部上设置有感应推头,在电气控制盒前侧设置有触摸交互显示屏。本实用新型能通过视频识别血管并选取血管最佳位置进行注射,同时还可以识别注射器内药剂量和注射的剂量大小,从而对注射过程进行更为精准的注射优化。

交易流程

  • 平台资深顾问将根据买家的需求,提供一对一服务,协助买家挑选到合适的专利。

  • 待买家确认无误后,根据顾问指导进行下单,并签订协议与合同,买家需要支付50%交易款给平台。

  • 平台将负责办理官方变更手续,向国知局提交转让材料。

  • 约10个工作日左右,待买家确认收到专利《变更手续合格通知书》后,向平台支付剩余交易款。

  • 转让成功后,平台会将专利证书原件、专利登记簿副本原件邮寄给买家,同时把交易尾款支付给卖家,保障双方交易顺利。

过户资料

主体资格 转让方提供 受让方提供 平台提供 转让完成,可获得
自然人 身份证复印件,专利证书原件; 身份证复印件
有效个体营业执照
转让申请书
代理委托书
转让协议书
发明人变更声明
专利证书
手续合格通知书
专利登记簿副本
公司 有效的企业营业执照副本复印件,专利证书原件 有效的企业营业执照副本复印件;企业组织机构代码证
平台专属代理事务所将对委托交易全程监督,确保所有交易合同及相关文件合法有效。

发布求购信息