当前位置: 首页 > 知识产权交易 > 专利转让 >

待交易一种烘焙食品生产用的微生物发酵控制系统

专利号:CN202010472144.2 已授权

申请日:2023-01-16发布日期:2023-01-16

立即收藏 立即询价 转让价格:询价

专利摘要

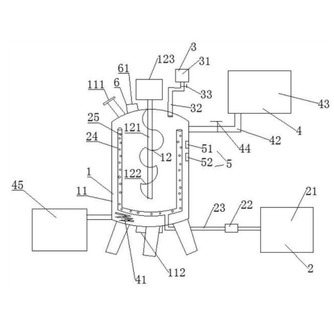
本发明公开了一种烘焙食品生产用的微生物发酵控制系统,包括发酵装置、无菌空气供给装置、PH值调节装置、温度调节装置、检测装置和控制装置,无菌空气供给装置和PH值调节装置均与发酵装置连接,温度调节装置、检测装置均设于发酵装置内部,并均与控制装置电性连接;无菌空气供给装置用于给发酵装置提供无菌空气,PH值调节装置用于调节发酵过程中发酵物的PH值,温度调节装置用于调节发酵装置内部的温度,控制装置用于控制PH值调节装置、温度调节装置和发酵装置。本发明自动化程度高,能够通过检测微生物发酵环境,从而自动控制微生物发酵条件,提供微生物发酵适合的发酵环境,生产效率高,节约成本,有利于工业化扩大生产。

交易流程

  • 平台资深顾问将根据买家的需求,提供一对一服务,协助买家挑选到合适的专利。

  • 待买家确认无误后,根据顾问指导进行下单,并签订协议与合同,买家需要支付50%交易款给平台。

  • 平台将负责办理官方变更手续,向国知局提交转让材料。

  • 约10个工作日左右,待买家确认收到专利《变更手续合格通知书》后,向平台支付剩余交易款。

  • 转让成功后,平台会将专利证书原件、专利登记簿副本原件邮寄给买家,同时把交易尾款支付给卖家,保障双方交易顺利。

过户资料

主体资格 转让方提供 受让方提供 平台提供 转让完成,可获得
自然人 身份证复印件,专利证书原件; 身份证复印件
有效个体营业执照
转让申请书
代理委托书
转让协议书
发明人变更声明
专利证书
手续合格通知书
专利登记簿副本
公司 有效的企业营业执照副本复印件,专利证书原件 有效的企业营业执照副本复印件;企业组织机构代码证
平台专属代理事务所将对委托交易全程监督,确保所有交易合同及相关文件合法有效。

发布求购信息