当前位置: 首页 > 知识产权交易 > 专利转让 >

待交易一种利用黄曲发酵面团的装置

专利号:CN202020941820.1 已授权

申请日:2023-01-16发布日期:2023-01-16

立即收藏 立即询价 转让价格:询价

专利摘要

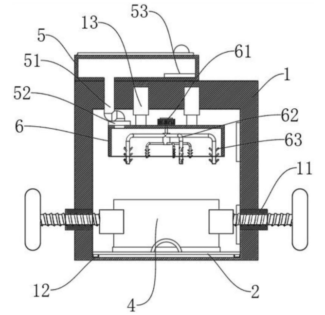
本实用新型涉及一种发酵面团的装置,具体涉及一种利用黄曲发酵面团的装置,包括发酵箱,发酵箱内腔底部设置有对称的两个滑轨,滑轨内部滑动设置有活动板,活动板顶部设置有放置槽,放置槽内部设置有发酵桶,发酵箱左右两侧均设置有夹紧装置,夹紧装置包括螺杆,螺杆端部通过轴承转动设置有弧形板,弧形板内部与发酵桶外壁轮廓相适配,发酵箱内腔顶部设置有电动推杆,电动推杆活塞杆底部设置有密封盖,密封盖顶部设置有电机,电机输出轴通过联轴器连接有搅拌棒,搅拌棒外壁设置有多个搅拌叶,本实用新型可以固定发酵桶,防止搅拌时不稳定,且在发酵结束后,方便取出面团,避免烫伤手部。

交易流程

  • 平台资深顾问将根据买家的需求,提供一对一服务,协助买家挑选到合适的专利。

  • 待买家确认无误后,根据顾问指导进行下单,并签订协议与合同,买家需要支付50%交易款给平台。

  • 平台将负责办理官方变更手续,向国知局提交转让材料。

  • 约10个工作日左右,待买家确认收到专利《变更手续合格通知书》后,向平台支付剩余交易款。

  • 转让成功后,平台会将专利证书原件、专利登记簿副本原件邮寄给买家,同时把交易尾款支付给卖家,保障双方交易顺利。

过户资料

主体资格 转让方提供 受让方提供 平台提供 转让完成,可获得
自然人 身份证复印件,专利证书原件; 身份证复印件
有效个体营业执照
转让申请书
代理委托书
转让协议书
发明人变更声明
专利证书
手续合格通知书
专利登记簿副本
公司 有效的企业营业执照副本复印件,专利证书原件 有效的企业营业执照副本复印件;企业组织机构代码证
平台专属代理事务所将对委托交易全程监督,确保所有交易合同及相关文件合法有效。

发布求购信息