当前位置: 首页 > 知识产权交易 > 专利转让 >

待交易一种低压系统提前放电反冲灭弧装置

专利号:CN202020297019.8 已授权

申请日:2023-01-04发布日期:2023-01-04

立即收藏 立即询价 转让价格:询价

专利摘要

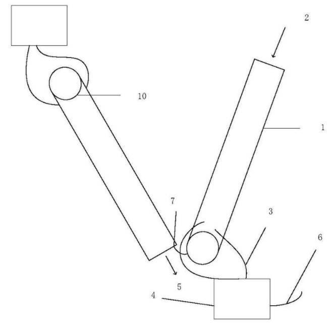
本实用新型公开了一种低压系统提前放电反冲灭弧装置,属于低压系统防雷技术领域,包括反冲灭弧单元,所述反冲灭弧单元包括反冲管、绝缘导线、高压包和电场感应线,所述绝缘导线一端与高压包的输出端连接,所述电场感应线与高压包连接,且电场感应线设置在低压系统开关的侧边,所述绝缘导线的另一端设置在反冲管内。本实用新型能改变灭弧装置的动作电压。高压包提前产生大量自由电子,绝缘强度自动降低,电弧闪络提前,反冲灭弧过程也提前,灭弧时间大大缩短。改善伏秒特性。高压脉冲通过提前击穿空气间隙,提供了大量自由电子,改善了间隙伏秒特性。

交易流程

  • 平台资深顾问将根据买家的需求,提供一对一服务,协助买家挑选到合适的专利。

  • 待买家确认无误后,根据顾问指导进行下单,并签订协议与合同,买家需要支付50%交易款给平台。

  • 平台将负责办理官方变更手续,向国知局提交转让材料。

  • 约10个工作日左右,待买家确认收到专利《变更手续合格通知书》后,向平台支付剩余交易款。

  • 转让成功后,平台会将专利证书原件、专利登记簿副本原件邮寄给买家,同时把交易尾款支付给卖家,保障双方交易顺利。

过户资料

主体资格 转让方提供 受让方提供 平台提供 转让完成,可获得
自然人 身份证复印件,专利证书原件; 身份证复印件
有效个体营业执照
转让申请书
代理委托书
转让协议书
发明人变更声明
专利证书
手续合格通知书
专利登记簿副本
公司 有效的企业营业执照副本复印件,专利证书原件 有效的企业营业执照副本复印件;企业组织机构代码证
平台专属代理事务所将对委托交易全程监督,确保所有交易合同及相关文件合法有效。

发布求购信息