当前位置: 首页 > 知识产权交易 > 专利转让 >

待交易一种自动控温的户外配电柜

专利号:CN201921371994.2 已授权

申请日:2023-01-03发布日期:2023-01-03

立即收藏 立即询价 转让价格:询价

专利摘要

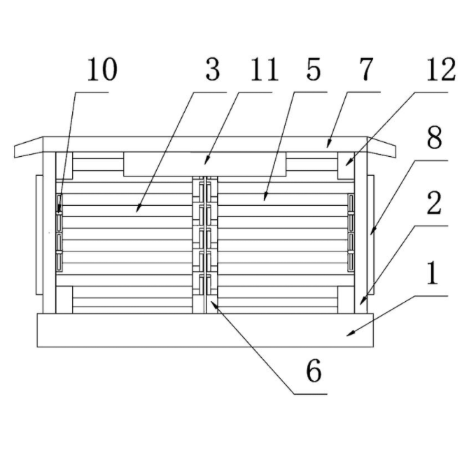
本实用新型公开了一种自动控温的户外配电柜,具体涉及户外配电柜技术领域,包括固定底座,所述固定底座的顶面固定安装有所述侧壁,所述背板,所述侧壁的数量为两个,左右对称安装在所述固定底座的两侧,所述背板开设有所述条形通风孔,所述条形通风孔活动安装有所述活动窗叶,所述活动窗叶活动连接有所述联动组件。本实用新型通过设置方形通气孔,在配电柜工作过程中,电元件做工产生大量的热,感温器察觉到温度上升,使得空调开始运行进行降温,在空调进行工作一段时间后,通风扇进行工作,通过通风扇帮助电元件快速散热,同时带走冷热空气交替产生的水分,既加快了降温速率,提高了工作效率,又带走了水分,避免了水分对电路的损坏。

交易流程

  • 平台资深顾问将根据买家的需求,提供一对一服务,协助买家挑选到合适的专利。

  • 待买家确认无误后,根据顾问指导进行下单,并签订协议与合同,买家需要支付50%交易款给平台。

  • 平台将负责办理官方变更手续,向国知局提交转让材料。

  • 约10个工作日左右,待买家确认收到专利《变更手续合格通知书》后,向平台支付剩余交易款。

  • 转让成功后,平台会将专利证书原件、专利登记簿副本原件邮寄给买家,同时把交易尾款支付给卖家,保障双方交易顺利。

过户资料

主体资格 转让方提供 受让方提供 平台提供 转让完成,可获得
自然人 身份证复印件,专利证书原件; 身份证复印件
有效个体营业执照
转让申请书
代理委托书
转让协议书
发明人变更声明
专利证书
手续合格通知书
专利登记簿副本
公司 有效的企业营业执照副本复印件,专利证书原件 有效的企业营业执照副本复印件;企业组织机构代码证
平台专属代理事务所将对委托交易全程监督,确保所有交易合同及相关文件合法有效。

发布求购信息