当前位置: 首页 > 知识产权交易 > 专利转让 >

待交易一种多功能充电桩

专利号:CN202122838302.4 已授权

申请日:2022-12-30发布日期:2022-12-30

立即收藏 立即询价 转让价格:询价

专利摘要

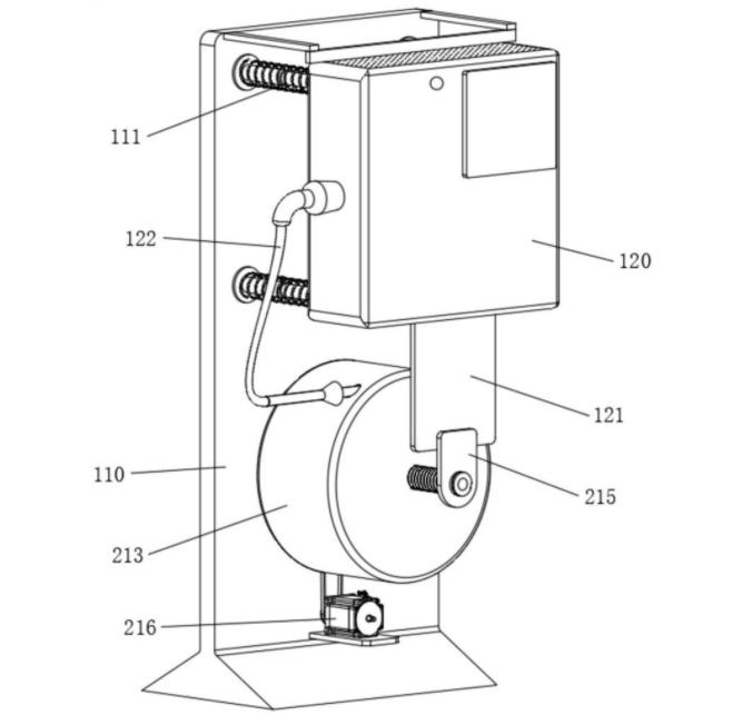
本实用新型涉及充电桩技术领域,具体地说,涉及一种多功能充电桩。其包括充电装置和设置在充电装置底部的收纳装置,所述充电装置包括支撑板和充电桩本体,所述支撑板的顶部一侧设置有多个缓冲弹簧,该多功能充电桩中,通过设置的收纳装置,连接轴带动连接盘转动使连接盘从外壳滑出,同时连接轴通过螺合力带动安装板移动,使安装板带动充电桩本体位移,实现对充电桩本体位置的移动,以便于在充电时减少充电桩本体对车位的空间占用,解决了由于缓冲装置需要一定的行程才能达到缓冲的效果,因此会占用车位的空间,这就导致了一些大型车无法完全停入到车位内,使车头处于道路上,影响其他车辆的通行的问题。

交易流程

  • 平台资深顾问将根据买家的需求,提供一对一服务,协助买家挑选到合适的专利。

  • 待买家确认无误后,根据顾问指导进行下单,并签订协议与合同,买家需要支付50%交易款给平台。

  • 平台将负责办理官方变更手续,向国知局提交转让材料。

  • 约10个工作日左右,待买家确认收到专利《变更手续合格通知书》后,向平台支付剩余交易款。

  • 转让成功后,平台会将专利证书原件、专利登记簿副本原件邮寄给买家,同时把交易尾款支付给卖家,保障双方交易顺利。

过户资料

主体资格 转让方提供 受让方提供 平台提供 转让完成,可获得
自然人 身份证复印件,专利证书原件; 身份证复印件
有效个体营业执照
转让申请书
代理委托书
转让协议书
发明人变更声明
专利证书
手续合格通知书
专利登记簿副本
公司 有效的企业营业执照副本复印件,专利证书原件 有效的企业营业执照副本复印件;企业组织机构代码证
平台专属代理事务所将对委托交易全程监督,确保所有交易合同及相关文件合法有效。

发布求购信息