当前位置: 首页 > 知识产权交易 > 专利转让 >

待交易一种高压粉料取样装置

专利号:CN202122704961.9 已授权

申请日:2022-12-29发布日期:2022-12-29

立即收藏 立即询价 转让价格:询价

专利摘要

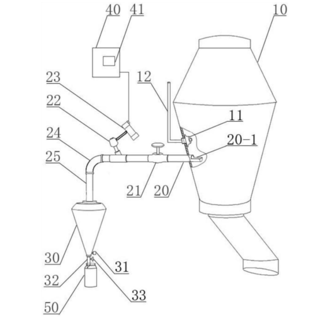
本实用新型公开了一种高压粉料取样装置,具体涉及粉状物料的取样技术领域。该装置包括阀门组件、接样桶、高压粉料储仓和PLC控制箱,阀门组件包括气动角座阀和手动阀门,在高压粉料储仓的侧壁上设置有取样管,在接样桶的顶部设置有接样管道,取样管通过接样管道与接样桶连通,在取样管的入料端一侧设置手动阀门,在取样管的出料端一侧设置所述气动角座阀,PLC控制箱与气动角座阀电性连接,接样桶的出料口处设置电动搅拌装置,高压粉料储仓取样口上方的内侧壁上设置流化器。本实用新型的取样装置能对高压粉状物料进行自动取样,解决取样装置在取样时,粉状物料从设备的缝隙中飞出造成冒灰现象、设备易发生故障和取样不稳定的问题。

交易流程

  • 平台资深顾问将根据买家的需求,提供一对一服务,协助买家挑选到合适的专利。

  • 待买家确认无误后,根据顾问指导进行下单,并签订协议与合同,买家需要支付50%交易款给平台。

  • 平台将负责办理官方变更手续,向国知局提交转让材料。

  • 约10个工作日左右,待买家确认收到专利《变更手续合格通知书》后,向平台支付剩余交易款。

  • 转让成功后,平台会将专利证书原件、专利登记簿副本原件邮寄给买家,同时把交易尾款支付给卖家,保障双方交易顺利。

过户资料

主体资格 转让方提供 受让方提供 平台提供 转让完成,可获得
自然人 身份证复印件,专利证书原件; 身份证复印件
有效个体营业执照
转让申请书
代理委托书
转让协议书
发明人变更声明
专利证书
手续合格通知书
专利登记簿副本
公司 有效的企业营业执照副本复印件,专利证书原件 有效的企业营业执照副本复印件;企业组织机构代码证
平台专属代理事务所将对委托交易全程监督,确保所有交易合同及相关文件合法有效。

发布求购信息