当前位置: 首页 > 知识产权交易 > 专利转让 >

待交易一种一体化农村污水处理设备外壳涂胶生产线

专利号:CN202122688553.9 已授权

申请日:2022-12-29发布日期:2022-12-29

立即收藏 立即询价 转让价格:询价

专利摘要

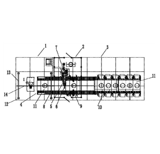
本实用新型公开了一种一体化农村污水处理设备外壳涂胶生产线,包括传输机构和架设在传输机构起始端上方的上料机构,所述传输机构包括人工底涂区、涂胶区和拼装区依次连接且底部均设有传送轨道,所述涂胶区设有涂胶装置,该涂胶装置为六轴机器人且在第六转轴上固设有涂胶枪,在所述六轴机器人的侧边设有精密计量涂胶工作站,所述精密计量涂胶工作站设置有涂胶管路与涂胶枪连接并控制涂胶作业。本实用新型可实现一体化农村污水处理设备外壳的自动涂胶作业,降低了人工强度,提高了生产效率。

交易流程

  • 平台资深顾问将根据买家的需求,提供一对一服务,协助买家挑选到合适的专利。

  • 待买家确认无误后,根据顾问指导进行下单,并签订协议与合同,买家需要支付50%交易款给平台。

  • 平台将负责办理官方变更手续,向国知局提交转让材料。

  • 约10个工作日左右,待买家确认收到专利《变更手续合格通知书》后,向平台支付剩余交易款。

  • 转让成功后,平台会将专利证书原件、专利登记簿副本原件邮寄给买家,同时把交易尾款支付给卖家,保障双方交易顺利。

过户资料

主体资格 转让方提供 受让方提供 平台提供 转让完成,可获得
自然人 身份证复印件,专利证书原件; 身份证复印件
有效个体营业执照
转让申请书
代理委托书
转让协议书
发明人变更声明
专利证书
手续合格通知书
专利登记簿副本
公司 有效的企业营业执照副本复印件,专利证书原件 有效的企业营业执照副本复印件;企业组织机构代码证
平台专属代理事务所将对委托交易全程监督,确保所有交易合同及相关文件合法有效。

发布求购信息