当前位置: 首页 > 知识产权交易 > 专利转让 >

待交易一种门扇启闭力简易测量装置

专利号:CN202021187902.8 已授权

申请日:2022-12-29发布日期:2022-12-29

立即收藏 立即询价 转让价格:询价

专利摘要

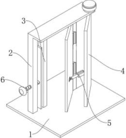
本实用新型涉及测量装置技术领域,具体地说,涉及一种门扇启闭力简易测量装置。其包括底板,底板顶板设置有固定架,固定架侧壁设置有螺孔,螺孔内部螺纹连接有挤压装置,挤压装置包括推板,推板表面转动设置有螺杆,螺杆外壁与螺孔内部螺纹配合,固定架顶部设置有顶板,顶板与底板之间靠近边缘处转动设置有转动板,转动板表面设置有拉环,拉环内部铰接设置有启闭力检测器本体,本实用新型转动螺杆,使螺杆外壁沿着螺孔内壁的螺纹前后滑动,带动推板前后运动,推板可以把不同宽度的门扇挤压固定在门洞内部,实用性更强,且转动转动板,带动启闭力检测器本体转动测量启闭力,节省了劳动强度,保证了稳定性。

交易流程

  • 平台资深顾问将根据买家的需求,提供一对一服务,协助买家挑选到合适的专利。

  • 待买家确认无误后,根据顾问指导进行下单,并签订协议与合同,买家需要支付50%交易款给平台。

  • 平台将负责办理官方变更手续,向国知局提交转让材料。

  • 约10个工作日左右,待买家确认收到专利《变更手续合格通知书》后,向平台支付剩余交易款。

  • 转让成功后,平台会将专利证书原件、专利登记簿副本原件邮寄给买家,同时把交易尾款支付给卖家,保障双方交易顺利。

过户资料

主体资格 转让方提供 受让方提供 平台提供 转让完成,可获得
自然人 身份证复印件,专利证书原件; 身份证复印件
有效个体营业执照
转让申请书
代理委托书
转让协议书
发明人变更声明
专利证书
手续合格通知书
专利登记簿副本
公司 有效的企业营业执照副本复印件,专利证书原件 有效的企业营业执照副本复印件;企业组织机构代码证
平台专属代理事务所将对委托交易全程监督,确保所有交易合同及相关文件合法有效。

发布求购信息