当前位置: 首页 > 知识产权交易 > 专利转让 >

待交易一种增压型多级反冲灭弧方法及系统

专利号:CN202010166058.9 已授权

申请日:2022-12-28发布日期:2022-12-28

立即收藏 立即询价 转让价格:询价

专利摘要

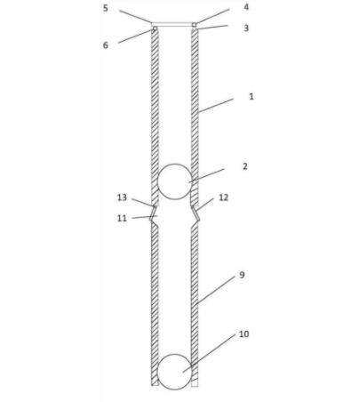
本发明公开了一种增压型多级反冲灭弧方法及系统,属于灭弧防雷技术领域,实现该方法的装置为设置一个初级反冲装置和若干个次级反冲装置,次级反冲装置与次级反冲装置之间首尾相接,且顶端的次级反冲装置设置在初级反冲装置的底部。初级反冲装置为在一根内部中空的初级反冲管一端设置接闪组件封闭设置,另一端设置有增压引弧组件,次级反冲装置包括次级反冲管和次级接闪电极。电弧首次经过初级反冲装置进行初次增压反冲,使得反冲的效果更好,可以熄灭更大的电弧,同时经过多个次级反冲装置再进行依次反冲,使得熄灭剩下的电弧,设置的封盖能够增大反冲气流喷射时的压力。
信息查询

交易流程

  • 平台资深顾问将根据买家的需求,提供一对一服务,协助买家挑选到合适的专利。

  • 待买家确认无误后,根据顾问指导进行下单,并签订协议与合同,买家需要支付50%交易款给平台。

  • 平台将负责办理官方变更手续,向国知局提交转让材料。

  • 约10个工作日左右,待买家确认收到专利《变更手续合格通知书》后,向平台支付剩余交易款。

  • 转让成功后,平台会将专利证书原件、专利登记簿副本原件邮寄给买家,同时把交易尾款支付给卖家,保障双方交易顺利。

过户资料

主体资格 转让方提供 受让方提供 平台提供 转让完成,可获得
自然人 身份证复印件,专利证书原件; 身份证复印件
有效个体营业执照
转让申请书
代理委托书
转让协议书
发明人变更声明
专利证书
手续合格通知书
专利登记簿副本
公司 有效的企业营业执照副本复印件,专利证书原件 有效的企业营业执照副本复印件;企业组织机构代码证
平台专属代理事务所将对委托交易全程监督,确保所有交易合同及相关文件合法有效。

发布求购信息