当前位置: 首页 > 知识产权交易 > 专利转让 >

待交易远红外线石发酵装置

专利号:CN202122127438.4 已授权

申请日:2022-12-28发布日期:2022-12-28

立即收藏 立即询价 转让价格:询价

专利摘要

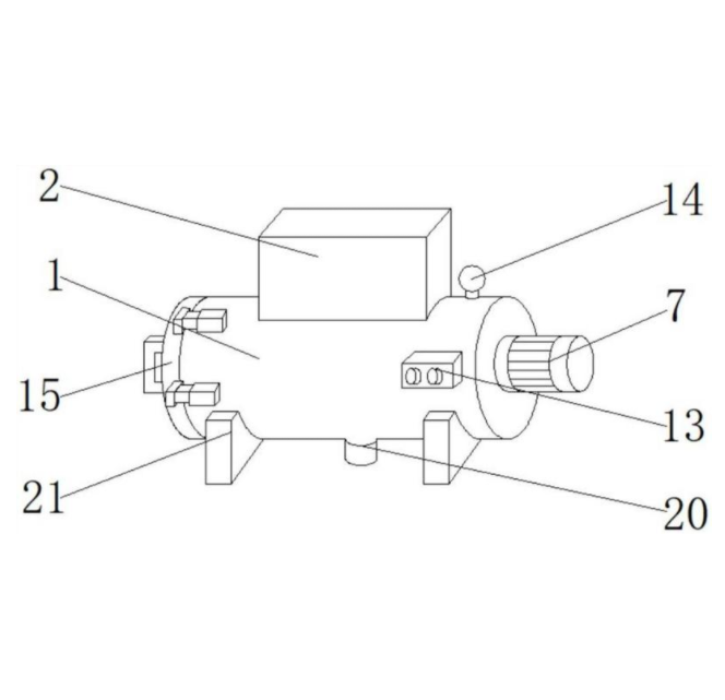
本实用新型公开了远红外线石发酵装置,包括罐体,所述罐体的顶部设置有恒温组件,所述罐体的一侧固定安装有电机,所述罐体的内部设置有搅拌组件,所述罐体的前侧表面固定安装有控制开关,所述罐体的顶部贯通安装有温度传感器。该远红外线石发酵装置,在进行日常使用的过程中,通过温度传感器监测罐体的内部温度变化,通过控制开关控制加热管工作,对远红外线石进行加热,远红外线石吸收热量后放射出远红外线,对罐体内部的物料进行辐射杀菌,并由内向外散发热量,提高物料发酵的温度,代替传统的加热装置直接对物料进行加热的方式,避免了物料外部易高温、内部难以受热的问题,提高了发酵效果。

交易流程

  • 平台资深顾问将根据买家的需求,提供一对一服务,协助买家挑选到合适的专利。

  • 待买家确认无误后,根据顾问指导进行下单,并签订协议与合同,买家需要支付50%交易款给平台。

  • 平台将负责办理官方变更手续,向国知局提交转让材料。

  • 约10个工作日左右,待买家确认收到专利《变更手续合格通知书》后,向平台支付剩余交易款。

  • 转让成功后,平台会将专利证书原件、专利登记簿副本原件邮寄给买家,同时把交易尾款支付给卖家,保障双方交易顺利。

过户资料

主体资格 转让方提供 受让方提供 平台提供 转让完成,可获得
自然人 身份证复印件,专利证书原件; 身份证复印件
有效个体营业执照
转让申请书
代理委托书
转让协议书
发明人变更声明
专利证书
手续合格通知书
专利登记簿副本
公司 有效的企业营业执照副本复印件,专利证书原件 有效的企业营业执照副本复印件;企业组织机构代码证
平台专属代理事务所将对委托交易全程监督,确保所有交易合同及相关文件合法有效。

发布求购信息