当前位置: 首页 > 知识产权交易 > 专利转让 >

待交易一种振动马达线圈收集装置

专利号:CN202122100262.3 已授权

申请日:2022-12-28发布日期:2022-12-28

立即收藏 立即询价 转让价格:询价

专利摘要

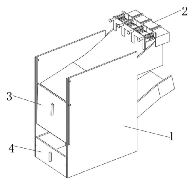
本实用新型涉及线圈收集技术领域,具体地说,涉及一种振动马达线圈收集装置。其包括引导装置,引导装置包括两个侧护板,两个侧护板之间设置有向上弯折的上挡板和用于引导线圈的下接板,上挡板设置在下接板的上侧,上挡板、下接板和侧护板之间为引导腔,下接板的一端固定连接有向上倾斜的用于承接线圈的引导板。本实用新型通过设置的上挡板对切断的铜芯线圈进行阻挡,并通过引导板引导、下接板的承接,使被切断的铜芯线圈被收集在引导装置的内部,使铜芯线圈落在指定的位置,以便于铜芯线圈的收集,进而加快铜芯线圈的包装,进一步的加快振动电机的生产速度。

交易流程

  • 平台资深顾问将根据买家的需求,提供一对一服务,协助买家挑选到合适的专利。

  • 待买家确认无误后,根据顾问指导进行下单,并签订协议与合同,买家需要支付50%交易款给平台。

  • 平台将负责办理官方变更手续,向国知局提交转让材料。

  • 约10个工作日左右,待买家确认收到专利《变更手续合格通知书》后,向平台支付剩余交易款。

  • 转让成功后,平台会将专利证书原件、专利登记簿副本原件邮寄给买家,同时把交易尾款支付给卖家,保障双方交易顺利。

过户资料

主体资格 转让方提供 受让方提供 平台提供 转让完成,可获得
自然人 身份证复印件,专利证书原件; 身份证复印件
有效个体营业执照
转让申请书
代理委托书
转让协议书
发明人变更声明
专利证书
手续合格通知书
专利登记簿副本
公司 有效的企业营业执照副本复印件,专利证书原件 有效的企业营业执照副本复印件;企业组织机构代码证
平台专属代理事务所将对委托交易全程监督,确保所有交易合同及相关文件合法有效。

发布求购信息