当前位置: 首页 > 知识产权交易 > 专利转让 >

待交易一种印刷机用双臂式位回转架

专利号:CN202121960888.5 已授权

申请日:2022-12-27发布日期:2022-12-27

立即收藏 立即询价 转让价格:询价

专利摘要

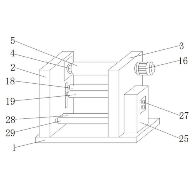
本实用新型公开了一种印刷机用双臂式位回转架,包括底座,所述底座的顶部两侧分别安装有第一支架和第二支架,所述第一支架和第二支架之间活动安装有气胀轴,所述气胀轴的一端对应的第一支架内部活动安装有支座,所述气胀轴的下方活动安装有辅助辊和压力传感辊。该一种印刷机用双臂式位回转架,在进行日常使用的过程中,通过启动第一电机带动丝杆转动,通过第一滑块实现对卷料辊的上下位置调节,通过启动气缸推动支座,支座通过第二滑块在滑杆表面滑动,实现对卷料辊的前后位置调节,通过多方位对卷料辊进行自动纠偏,取代人工手动操作,减小了误差,省时省力,提高了工作效率。

交易流程

  • 平台资深顾问将根据买家的需求,提供一对一服务,协助买家挑选到合适的专利。

  • 待买家确认无误后,根据顾问指导进行下单,并签订协议与合同,买家需要支付50%交易款给平台。

  • 平台将负责办理官方变更手续,向国知局提交转让材料。

  • 约10个工作日左右,待买家确认收到专利《变更手续合格通知书》后,向平台支付剩余交易款。

  • 转让成功后,平台会将专利证书原件、专利登记簿副本原件邮寄给买家,同时把交易尾款支付给卖家,保障双方交易顺利。

过户资料

主体资格 转让方提供 受让方提供 平台提供 转让完成,可获得
自然人 身份证复印件,专利证书原件; 身份证复印件
有效个体营业执照
转让申请书
代理委托书
转让协议书
发明人变更声明
专利证书
手续合格通知书
专利登记簿副本
公司 有效的企业营业执照副本复印件,专利证书原件 有效的企业营业执照副本复印件;企业组织机构代码证
平台专属代理事务所将对委托交易全程监督,确保所有交易合同及相关文件合法有效。

发布求购信息