当前位置: 首页 > 知识产权交易 > 专利转让 >

待交易一种应对绝缘配合失败的绝缘子改造灭弧装置

专利号:CN202121850965.1 已授权

申请日:2022-12-26发布日期:2022-12-26

立即收藏 立即询价 转让价格:询价

专利摘要

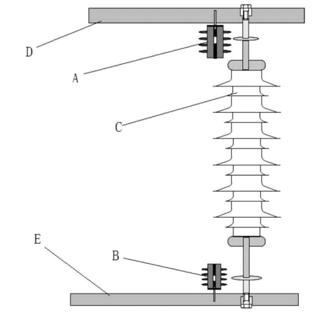
本实用新型公开了一种应对绝缘配合失败的绝缘子改造灭弧装置,属于建筑领域,包括绝缘子串、上横担和下横担,绝缘子串设置在上横担和下横担之间。上横担的底部设置上端密封灭弧单元,下横担的上端设置有下端密封灭弧单元,上端密封灭弧单元与下端密封灭弧单元相对设置,上端密封灭弧单元与下端密封灭弧单元设置在绝缘子串的侧边并不与绝缘子串接触设置。本实用新型截断电弧迅速,电弧在液体中放电产生液电效应,迅速形成冲击压力波,雷电冲击电弧在建立初期就立即被截断。其反应速度迅速,且具有这样的特点,在电弧功率最大能量最大时,产生的反冲能量也最大。

交易流程

  • 平台资深顾问将根据买家的需求,提供一对一服务,协助买家挑选到合适的专利。

  • 待买家确认无误后,根据顾问指导进行下单,并签订协议与合同,买家需要支付50%交易款给平台。

  • 平台将负责办理官方变更手续,向国知局提交转让材料。

  • 约10个工作日左右,待买家确认收到专利《变更手续合格通知书》后,向平台支付剩余交易款。

  • 转让成功后,平台会将专利证书原件、专利登记簿副本原件邮寄给买家,同时把交易尾款支付给卖家,保障双方交易顺利。

过户资料

主体资格 转让方提供 受让方提供 平台提供 转让完成,可获得
自然人 身份证复印件,专利证书原件; 身份证复印件
有效个体营业执照
转让申请书
代理委托书
转让协议书
发明人变更声明
专利证书
手续合格通知书
专利登记簿副本
公司 有效的企业营业执照副本复印件,专利证书原件 有效的企业营业执照副本复印件;企业组织机构代码证
平台专属代理事务所将对委托交易全程监督,确保所有交易合同及相关文件合法有效。

发布求购信息