当前位置: 首页 > 知识产权交易 > 专利转让 >

待交易多级液态反冲灭弧装置

专利号:CN202121851947.5 已授权

申请日:2022-12-26发布日期:2022-12-26

立即收藏 立即询价 转让价格:询价

专利摘要

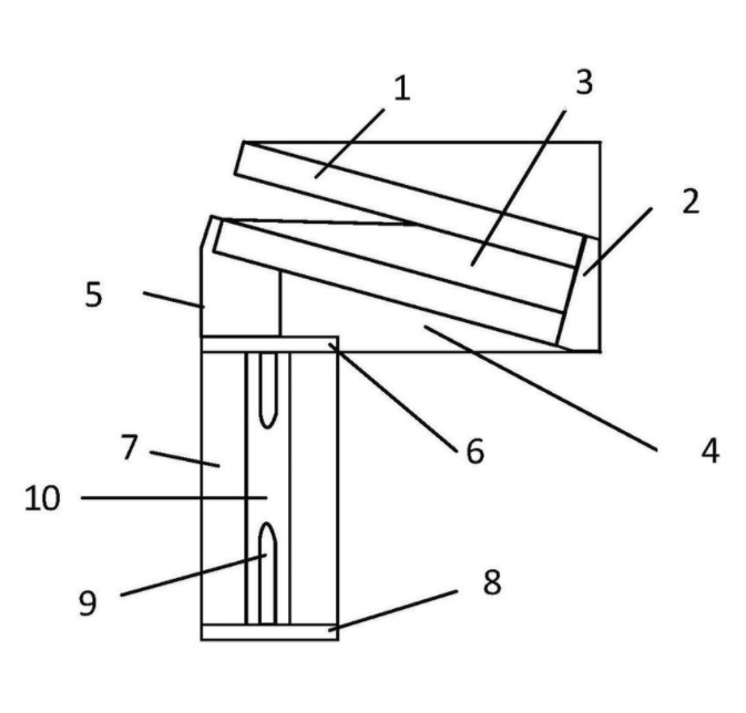
本实用新型公开了多级液态反冲灭弧装置,属于防雷灭弧技术领域,包括倾斜反冲装置和竖向密封灭弧装置,倾斜反冲装置与竖向密封灭弧装置不平行且不垂直设置,倾斜反冲装置和竖向密封灭弧装置内分别设置有倾斜反冲管绝缘液体和绝缘油,绝缘油填满竖向密封灭弧装置,倾斜反冲装置倾斜向上设置。雷电流通过多个陶瓷管构成灭弧通道泄入大地。陶瓷管与陶瓷管间的空气间隙延长了雷电流的入地时间,使电弧在反冲管内停留时间增加,减小了瞬时大电流对电子设备和建筑物造成危害,增加了多个电弧断口点,对贯穿性闪络实施多点同步截断电弧,把长电弧分割成短电弧并逐级熄灭短电弧单元,提高了对长电弧的灭弧能力,有效抑制了电弧的重燃。

交易流程

  • 平台资深顾问将根据买家的需求,提供一对一服务,协助买家挑选到合适的专利。

  • 待买家确认无误后,根据顾问指导进行下单,并签订协议与合同,买家需要支付50%交易款给平台。

  • 平台将负责办理官方变更手续,向国知局提交转让材料。

  • 约10个工作日左右,待买家确认收到专利《变更手续合格通知书》后,向平台支付剩余交易款。

  • 转让成功后,平台会将专利证书原件、专利登记簿副本原件邮寄给买家,同时把交易尾款支付给卖家,保障双方交易顺利。

过户资料

主体资格 转让方提供 受让方提供 平台提供 转让完成,可获得
自然人 身份证复印件,专利证书原件; 身份证复印件
有效个体营业执照
转让申请书
代理委托书
转让协议书
发明人变更声明
专利证书
手续合格通知书
专利登记簿副本
公司 有效的企业营业执照副本复印件,专利证书原件 有效的企业营业执照副本复印件;企业组织机构代码证
平台专属代理事务所将对委托交易全程监督,确保所有交易合同及相关文件合法有效。

发布求购信息