当前位置: 首页 > 知识产权交易 > 专利转让 >

待交易一种液电效应压力多点遮断电弧的防雷装置

专利号:CN202121852258.6 已授权

申请日:2022-12-26发布日期:2022-12-26

立即收藏 立即询价 转让价格:询价

专利摘要

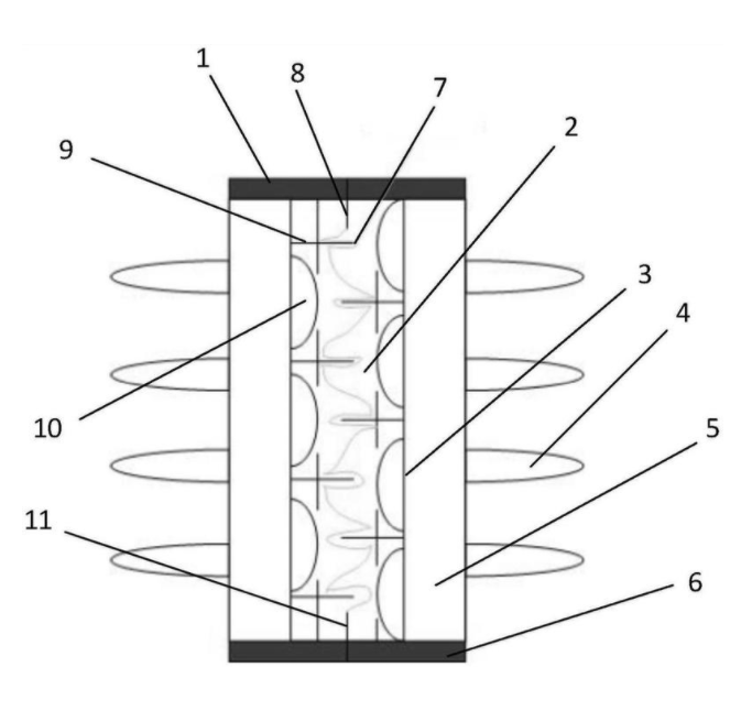
本实用新型公开了一种液电效应压力多点遮断电弧的防雷装置,属于灭弧防雷技术领域,防雷装置设置为一个密封管,密封管两端分别设置上电极和下电极密封设置,密封管内设置有绝缘油,密封管的侧边设置有裙边,密封管的内侧边上间隔设置有灭弧栅,灭弧栅横向长度大于密封管的二分之一内径。本实用新型截断电弧迅速,电弧在液体中放电产生液电效应,迅速形成冲击压力波,冲击电弧在刚刚形成之时就立即被截断。冲击电弧重燃被延迟,陶瓷管内的高压破坏了持续放电条件和重燃条件,截断冲击电弧后,重燃击穿时间被大幅度延迟十几到几十微秒以上,雷电流的陡度显著降低90%,电流幅值衰减50%以上。

交易流程

  • 平台资深顾问将根据买家的需求,提供一对一服务,协助买家挑选到合适的专利。

  • 待买家确认无误后,根据顾问指导进行下单,并签订协议与合同,买家需要支付50%交易款给平台。

  • 平台将负责办理官方变更手续,向国知局提交转让材料。

  • 约10个工作日左右,待买家确认收到专利《变更手续合格通知书》后,向平台支付剩余交易款。

  • 转让成功后,平台会将专利证书原件、专利登记簿副本原件邮寄给买家,同时把交易尾款支付给卖家,保障双方交易顺利。

过户资料

主体资格 转让方提供 受让方提供 平台提供 转让完成,可获得
自然人 身份证复印件,专利证书原件; 身份证复印件
有效个体营业执照
转让申请书
代理委托书
转让协议书
发明人变更声明
专利证书
手续合格通知书
专利登记簿副本
公司 有效的企业营业执照副本复印件,专利证书原件 有效的企业营业执照副本复印件;企业组织机构代码证
平台专属代理事务所将对委托交易全程监督,确保所有交易合同及相关文件合法有效。

发布求购信息