当前位置: 首页 > 知识产权交易 > 专利转让 >

待交易一种恒温恒湿的烘焙食品生产用发酵装置

专利号:CN202020369922.0 已授权

申请日:2022-12-13发布日期:2022-12-13

立即收藏 立即询价 转让价格:询价

专利摘要

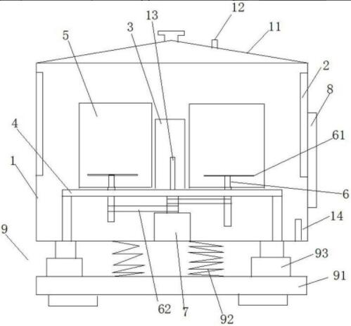
本实用新型涉及食品生产设备技术领域,特别涉及一种恒温恒湿的烘焙食品生产用发酵装置,包括壳体、加热板、加湿器、支撑台、发酵罐、搅拌装置、电机、控制器和缓冲装置,所述壳体为上部开口的圆型空心壳外壳,该壳体的上方开口设有壳盖,该壳盖上设有通气口,所述加热板设置在壳体的内侧壁上并与控制器连接,所述支撑台为支撑架起在壳体内部的平台,所述加湿器设置在支撑台上中部并与控制器连接,所述发酵罐固定在支撑台上,所述搅拌装置可转动地固定在发酵罐的底部,且该搅拌装置设置转轴穿透支撑台至底部,所述电机设置做支撑台的底部,所述电机与搅拌装置的转轴连接并带动转轴转动。该装置能保证面粉在恒温恒湿状态下进行发酵,且能够搅拌保证其发酵均匀,结构简单,便于操作。

交易流程

  • 平台资深顾问将根据买家的需求,提供一对一服务,协助买家挑选到合适的专利。

  • 待买家确认无误后,根据顾问指导进行下单,并签订协议与合同,买家需要支付50%交易款给平台。

  • 平台将负责办理官方变更手续,向国知局提交转让材料。

  • 约10个工作日左右,待买家确认收到专利《变更手续合格通知书》后,向平台支付剩余交易款。

  • 转让成功后,平台会将专利证书原件、专利登记簿副本原件邮寄给买家,同时把交易尾款支付给卖家,保障双方交易顺利。

过户资料

主体资格 转让方提供 受让方提供 平台提供 转让完成,可获得
自然人 身份证复印件,专利证书原件; 身份证复印件
有效个体营业执照
转让申请书
代理委托书
转让协议书
发明人变更声明
专利证书
手续合格通知书
专利登记簿副本
公司 有效的企业营业执照副本复印件,专利证书原件 有效的企业营业执照副本复印件;企业组织机构代码证
平台专属代理事务所将对委托交易全程监督,确保所有交易合同及相关文件合法有效。

发布求购信息