当前位置: 首页 > 知识产权交易 > 专利转让 >

待交易一种基于界面粘结力定量测试沥青与集料粘附性的装置

专利号:CN202020633804.6 已授权

申请日:2022-12-09发布日期:2022-12-09

立即收藏 立即询价 转让价格:询价

专利摘要

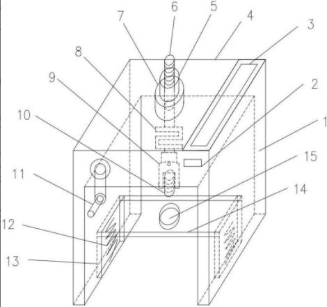
本实用新型公开一种基于界面粘结力定量测试沥青与集料粘附性的装置,包括本体、加载系统、蓄电系统和数据采集系统;所述本体包括横向联接板和竖向支承;所述加载系统包括工作油泵、微型液压千斤顶和手柄,所述蓄电系统包括可充电蓄电池,所述数据采集系统包括数据储存器和嵌入式的数显仪表。本实用新型能够快速、便捷地实现对沥青与集料粘附性的定量测试与评价,客观真实地反映二者的粘附性,避免了因集料样品尺寸、形状差异所造成的影响,形成更统一的试验条件,更有利于不同集料的横向对比及方案选择。本实用新型的测试装置小巧便携,原理简单,操作简易,具有广阔的应用前景。

交易流程

  • 平台资深顾问将根据买家的需求,提供一对一服务,协助买家挑选到合适的专利。

  • 待买家确认无误后,根据顾问指导进行下单,并签订协议与合同,买家需要支付50%交易款给平台。

  • 平台将负责办理官方变更手续,向国知局提交转让材料。

  • 约10个工作日左右,待买家确认收到专利《变更手续合格通知书》后,向平台支付剩余交易款。

  • 转让成功后,平台会将专利证书原件、专利登记簿副本原件邮寄给买家,同时把交易尾款支付给卖家,保障双方交易顺利。

过户资料

主体资格 转让方提供 受让方提供 平台提供 转让完成,可获得
自然人 身份证复印件,专利证书原件; 身份证复印件
有效个体营业执照
转让申请书
代理委托书
转让协议书
发明人变更声明
专利证书
手续合格通知书
专利登记簿副本
公司 有效的企业营业执照副本复印件,专利证书原件 有效的企业营业执照副本复印件;企业组织机构代码证
平台专属代理事务所将对委托交易全程监督,确保所有交易合同及相关文件合法有效。

发布求购信息