当前位置: 首页 > 知识产权交易 > 专利转让 >

待交易一种基于外观尺寸筛选装置

专利号:CN202020193683.8 已授权

申请日:2022-12-08发布日期:2022-12-08

立即收藏 立即询价 转让价格:询价

专利摘要

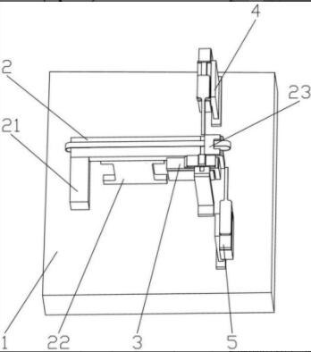
本实用新型公开了一种基于外观尺寸筛选装置,包括底座、固定在底座表面的传送带、筛选机构、顶入装置和顶出装置,所述传送带通过固定架固定在底座表面上,所述传送带的前端设置有驱动电机,该驱动电机的输出轴与传送带传动连接,所述传送带的末端固定设置有定位块,所述传送带的末端的两侧分别设置所述筛选机构和顶入装置,所述顶入装置与筛选机构正相对,所述顶入装置的顶入方向垂直于传送带的传送方向,在所述筛选机构一侧且靠近所述传送带的末端设置所述顶出装置,所述顶出装置的顶出方向垂直于传送带的传送方向。本实用新型可快速的对工件大小尺寸进行筛选,并通过流水线的作业方式连续不断的进行筛选,在保证筛选准确性的同时提高筛选效率。

交易流程

  • 平台资深顾问将根据买家的需求,提供一对一服务,协助买家挑选到合适的专利。

  • 待买家确认无误后,根据顾问指导进行下单,并签订协议与合同,买家需要支付50%交易款给平台。

  • 平台将负责办理官方变更手续,向国知局提交转让材料。

  • 约10个工作日左右,待买家确认收到专利《变更手续合格通知书》后,向平台支付剩余交易款。

  • 转让成功后,平台会将专利证书原件、专利登记簿副本原件邮寄给买家,同时把交易尾款支付给卖家,保障双方交易顺利。

过户资料

主体资格 转让方提供 受让方提供 平台提供 转让完成,可获得
自然人 身份证复印件,专利证书原件; 身份证复印件
有效个体营业执照
转让申请书
代理委托书
转让协议书
发明人变更声明
专利证书
手续合格通知书
专利登记簿副本
公司 有效的企业营业执照副本复印件,专利证书原件 有效的企业营业执照副本复印件;企业组织机构代码证
平台专属代理事务所将对委托交易全程监督,确保所有交易合同及相关文件合法有效。

发布求购信息