当前位置: 首页 > 知识产权交易 > 专利转让 >

待交易一种取水泵站用方便清洁的拦污结构及其清洁方法

专利号:CN202210872088.0 已授权

申请日:2022-12-07发布日期:2022-12-07

立即收藏 立即询价 转让价格:询价

专利摘要

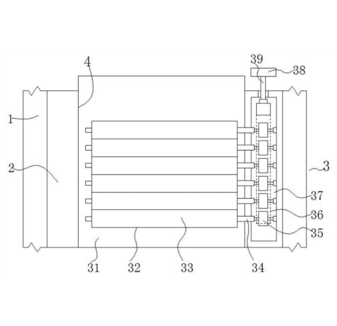
本发明公开了一种取水泵站用方便清洁的拦污结构及其清洁方法,包括:泵站围堰,所述泵站围堰固定设置在泵站塘坝的流道处,且泵站围堰中开设有取水通道,同时取水通道的内部安装有拦污装置,并且拦污装置的表面覆盖有清洁装置,泵站围堰与取水泵站的取水孔连通设置;拦污装置,所述拦污装置的拦污整框通过螺栓固定安装在泵站围堰的内部。该取水泵站用方便清洁的拦污结构及其清洁方法,当水流冲击在格栅柱上的时候,由于水流冲击在格栅柱上的时候,依然会产生卡门涡街效应,但是在格栅柱的不同高度上涡脱落不再是同步的,或者说是涡脱落的相位不同,这就减弱水流对格栅柱造成的影响,从而降低拦截板的振动幅度,对拦截板进行保护。

交易流程

  • 平台资深顾问将根据买家的需求,提供一对一服务,协助买家挑选到合适的专利。

  • 待买家确认无误后,根据顾问指导进行下单,并签订协议与合同,买家需要支付50%交易款给平台。

  • 平台将负责办理官方变更手续,向国知局提交转让材料。

  • 约10个工作日左右,待买家确认收到专利《变更手续合格通知书》后,向平台支付剩余交易款。

  • 转让成功后,平台会将专利证书原件、专利登记簿副本原件邮寄给买家,同时把交易尾款支付给卖家,保障双方交易顺利。

过户资料

主体资格 转让方提供 受让方提供 平台提供 转让完成,可获得
自然人 身份证复印件,专利证书原件; 身份证复印件
有效个体营业执照
转让申请书
代理委托书
转让协议书
发明人变更声明
专利证书
手续合格通知书
专利登记簿副本
公司 有效的企业营业执照副本复印件,专利证书原件 有效的企业营业执照副本复印件;企业组织机构代码证
平台专属代理事务所将对委托交易全程监督,确保所有交易合同及相关文件合法有效。

发布求购信息