当前位置: 首页 > 知识产权交易 > 专利转让 >

待交易一种可合理分配磨削量比例的双边机平磨轮机构

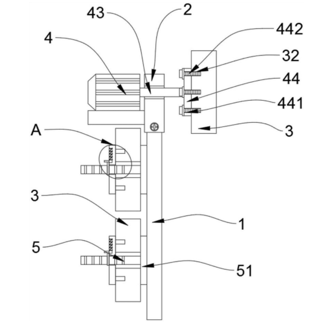
专利号:CN202221804167.X 已授权

申请日:2022-12-07发布日期:2022-12-07

立即收藏 立即询价 转让价格:询价

专利摘要

本实用新型公开了一种可合理分配磨削量比例的双边机平磨轮机构,涉及双边机零件领域,包括支撑柱、套管和平磨轮主体,支撑柱的顶部活动连接有套管,支撑柱的一侧设置有限位组件,本实用新型通过增设有三种磨削量及承载负荷不同的平磨轮主体,以便针对所需生产不同刚度的玻璃选择对应磨削量的平磨轮主体,从而实现合理分配双边机的磨削量,减少玻璃崩边崩角的情况,同时保障玻璃边部细腻,微裂纹少,降低玻璃破损的情况,提高了玻璃的加工品质,其次通过限位组件和锁紧件的配合使用,能够对闲置的平磨轮主体进行锁紧限位处理,同时,无需螺钉固定,便能够提高操作人员更换不同磨削量平磨轮主体的工作效率。

交易流程

  • 平台资深顾问将根据买家的需求,提供一对一服务,协助买家挑选到合适的专利。

  • 待买家确认无误后,根据顾问指导进行下单,并签订协议与合同,买家需要支付50%交易款给平台。

  • 平台将负责办理官方变更手续,向国知局提交转让材料。

  • 约10个工作日左右,待买家确认收到专利《变更手续合格通知书》后,向平台支付剩余交易款。

  • 转让成功后,平台会将专利证书原件、专利登记簿副本原件邮寄给买家,同时把交易尾款支付给卖家,保障双方交易顺利。

过户资料

主体资格 转让方提供 受让方提供 平台提供 转让完成,可获得
自然人 身份证复印件,专利证书原件; 身份证复印件
有效个体营业执照
转让申请书
代理委托书
转让协议书
发明人变更声明
专利证书
手续合格通知书
专利登记簿副本
公司 有效的企业营业执照副本复印件,专利证书原件 有效的企业营业执照副本复印件;企业组织机构代码证
平台专属代理事务所将对委托交易全程监督,确保所有交易合同及相关文件合法有效。

发布求购信息