当前位置: 首页 > 知识产权交易 > 专利转让 >

待交易一种海洋污染物清理装置

专利号:CN202221803685.X 已授权

申请日:2022-12-07发布日期:2022-12-07

立即收藏 立即询价 转让价格:询价

专利摘要

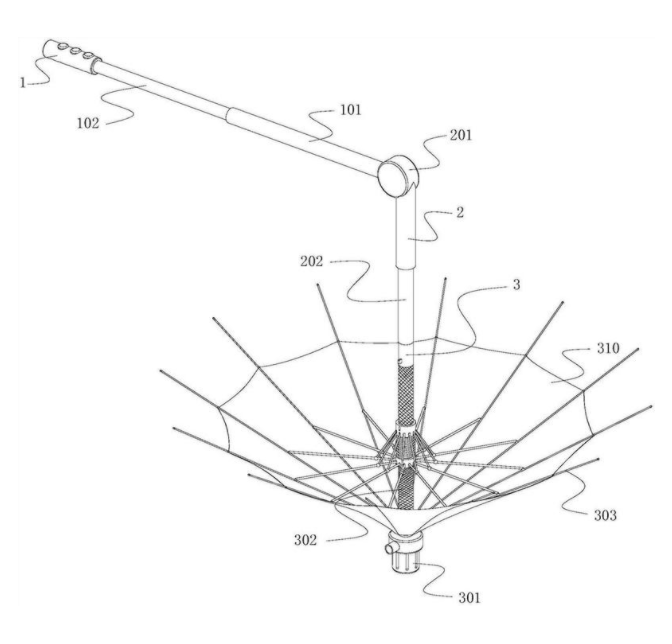
本实用新型涉及一种海洋污染物清理装置,涉及环境保护技术领域。本实用新型包括控制把手、第二支撑管和支撑架,控制把手一端卡接有第一支撑管,第一支撑管相对于控制把手另一端转动卡接有第二支撑管,第二支撑管内侧卡接有气缸,第二支撑管相对于控制把手另一端卡接有支撑架,支撑架外周面滑动卡接有伸缩组件,支撑架底端贯穿卡接有潜水泵,支撑架外周面中央贯穿卡接有滤网,支撑架外周面固定有防水布。本实用新型通过控制把手、第二支撑管和支撑架,解决了现有的海洋污染物清理装置体积较大,难以进入较窄的河道进行清理,而人工打捞清理会耗费大量人力和时间,不便于收纳整理,结构较为复杂,操作困难且难以维修的问题。

交易流程

  • 平台资深顾问将根据买家的需求,提供一对一服务,协助买家挑选到合适的专利。

  • 待买家确认无误后,根据顾问指导进行下单,并签订协议与合同,买家需要支付50%交易款给平台。

  • 平台将负责办理官方变更手续,向国知局提交转让材料。

  • 约10个工作日左右,待买家确认收到专利《变更手续合格通知书》后,向平台支付剩余交易款。

  • 转让成功后,平台会将专利证书原件、专利登记簿副本原件邮寄给买家,同时把交易尾款支付给卖家,保障双方交易顺利。

过户资料

主体资格 转让方提供 受让方提供 平台提供 转让完成,可获得
自然人 身份证复印件,专利证书原件; 身份证复印件
有效个体营业执照
转让申请书
代理委托书
转让协议书
发明人变更声明
专利证书
手续合格通知书
专利登记簿副本
公司 有效的企业营业执照副本复印件,专利证书原件 有效的企业营业执照副本复印件;企业组织机构代码证
平台专属代理事务所将对委托交易全程监督,确保所有交易合同及相关文件合法有效。

发布求购信息