当前位置: 首页 > 知识产权交易 > 专利转让 >

待交易一种施工升降机底笼门框与门配装测试装置

专利号:CN202221672214.X 已授权

申请日:2022-12-06发布日期:2022-12-06

立即收藏 立即询价 转让价格:询价

专利摘要

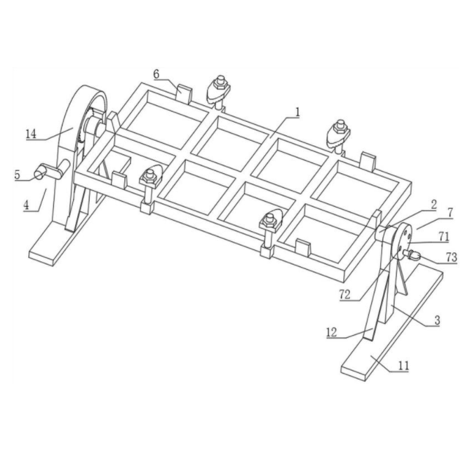
本实用新型公开了一种施工升降机底笼门框与门配装测试装置,涉及升降机技术领域,包括翻转平台,翻转平台左右两侧均固定连接有连接轴,两侧的连接轴均通过轴承与立柱顶部转动连接,翻转平台左侧设有转动机构,转动机构包括蜗轮和蜗杆,蜗轮与连接轴远离翻转平台一端固定连接,蜗杆与蜗轮啮合连接;翻转平台右侧设有用于防止翻转平台转动的限位组件,通过设置转动机构,旋转转动手柄带动蜗杆转动,由于蜗杆与蜗轮啮合连接,所以带动翻转平台转动,从而方便对固定在翻转平台上表面的底笼门框和门进行测量,这样只需要将底笼门框和门一次吊装到翻转平台上即能完成检测,效率高,操作简易,过程简单,方便快捷。

交易流程

  • 平台资深顾问将根据买家的需求,提供一对一服务,协助买家挑选到合适的专利。

  • 待买家确认无误后,根据顾问指导进行下单,并签订协议与合同,买家需要支付50%交易款给平台。

  • 平台将负责办理官方变更手续,向国知局提交转让材料。

  • 约10个工作日左右,待买家确认收到专利《变更手续合格通知书》后,向平台支付剩余交易款。

  • 转让成功后,平台会将专利证书原件、专利登记簿副本原件邮寄给买家,同时把交易尾款支付给卖家,保障双方交易顺利。

过户资料

主体资格 转让方提供 受让方提供 平台提供 转让完成,可获得
自然人 身份证复印件,专利证书原件; 身份证复印件
有效个体营业执照
转让申请书
代理委托书
转让协议书
发明人变更声明
专利证书
手续合格通知书
专利登记簿副本
公司 有效的企业营业执照副本复印件,专利证书原件 有效的企业营业执照副本复印件;企业组织机构代码证
平台专属代理事务所将对委托交易全程监督,确保所有交易合同及相关文件合法有效。

发布求购信息