当前位置: 首页 > 知识产权交易 > 专利转让 >

待交易一种可自动均衡温度和湿度的纸件档案存放柜

专利号:CN201920962476.1 已授权

申请日:2022-12-06发布日期:2022-12-06

立即收藏 立即询价 转让价格:询价

专利摘要

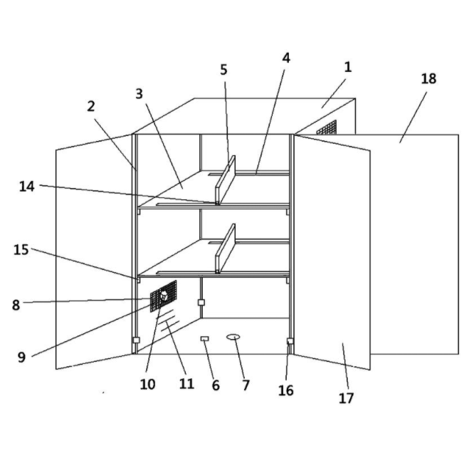
本实用新型公开一种可自动均衡温度和湿度的纸件档案存放柜,包括柜体,所述柜体内沿柜体高度方向上的四个边分别设有竖直导轨,所述竖直导轨之间水平设有多块隔板,所述隔板可沿竖直导轨上下滑动;所述每块隔板前后两端均设有水平滑轨,所述水平滑轨上设有滑板,所述滑板可沿水平滑轨左右滑动;所述柜体内底部设有温湿度传感器和防虫药袋;柜体一侧面下部设有进风口,所述进风口设有第一防尘网和风扇,所述第一防尘网安装在风扇之外,所述柜体内部、位于风扇下方设有电热丝;所述柜体另一侧面上部设有出风口,所述出风口上设有第二防尘网;所述温湿度传感器、风扇、电热丝分别与设于柜体外侧面的微处理器电连接。

交易流程

  • 平台资深顾问将根据买家的需求,提供一对一服务,协助买家挑选到合适的专利。

  • 待买家确认无误后,根据顾问指导进行下单,并签订协议与合同,买家需要支付50%交易款给平台。

  • 平台将负责办理官方变更手续,向国知局提交转让材料。

  • 约10个工作日左右,待买家确认收到专利《变更手续合格通知书》后,向平台支付剩余交易款。

  • 转让成功后,平台会将专利证书原件、专利登记簿副本原件邮寄给买家,同时把交易尾款支付给卖家,保障双方交易顺利。

过户资料

主体资格 转让方提供 受让方提供 平台提供 转让完成,可获得
自然人 身份证复印件,专利证书原件; 身份证复印件
有效个体营业执照
转让申请书
代理委托书
转让协议书
发明人变更声明
专利证书
手续合格通知书
专利登记簿副本
公司 有效的企业营业执照副本复印件,专利证书原件 有效的企业营业执照副本复印件;企业组织机构代码证
平台专属代理事务所将对委托交易全程监督,确保所有交易合同及相关文件合法有效。

发布求购信息